跳转到主要内容

特性

  • Commercial Temperature Range of 0°C to +70°C also Available – see ISL6186XXC
  • 2.5V to 5V Operating Range
  • 45mΩ Integrated Power P-channel MOSFET Switches
  • Continuous Current Options for 1.5A, 3A and 3.6A
  • Thermally Insensitive 12ms of Current Limiting Prior to Turn-Off
  • Output Discharges with Reverse Current Blocking When Disabled
  • Latch-off or Auto Restart and Enable Polarity Options
  • 1µA Off-State Supply Current
  • Industry Standard Pin-for-Pin SOIC and Smaller DFN Packages Available

描述

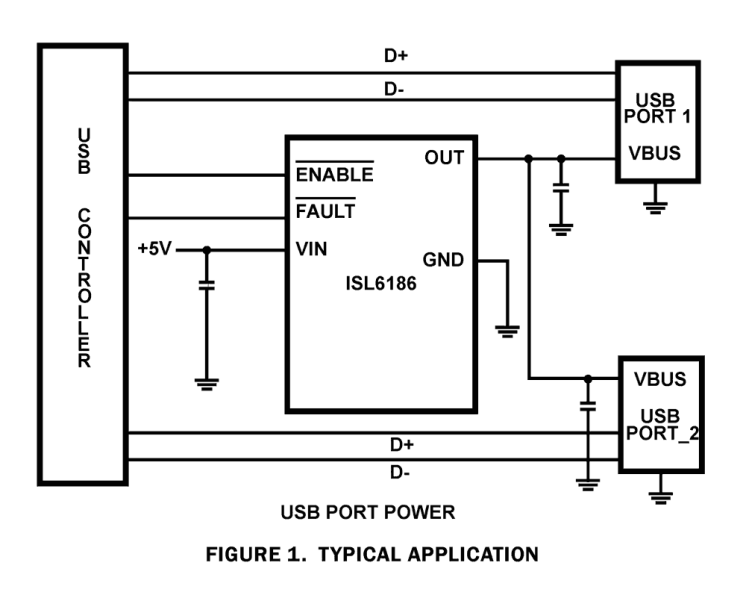
The ISL6186 USB power controller family provides overcurrent (OC) fault protection for one or more USB ports. This product family consists of eight individual functional product variants and three package options and is operation rated for a nominal +2. 5V to +5V range and specified over the full commercial and industrial temperature ranges. Each ISL6186 type incorporates a 45mΩ P-channel MOSFET power switch for power control and features internal current monitoring, accurate current limiting, and current limited delay to turn-off for system supply protection along with control and communication I/O. The ISL6186 family offers product variants with specified continuous output current levels of 1. 5A, 3A or 3. 6A, enable active high or low inputs, and latch off or automatic retry after overcurrent turn-off, making these devices well suited for many low-power applications. This family of ICs is offered in an industry standard SOIC package as well as in the 70% smaller 3x3 DFN package, which provides the same performance and an additional Power-Good output feature in the smallest possible (10 Ld DFN) package.

产品参数

属性
Outputs (#) 1
Internal / External FET Int
VBIAS (Min) (V) 2.5
VBIAS (Max) (V) 5.5
Controlled Voltages (V) 2.5 - 2.5
Regulation or Latch-Off for Overcurrent Current Regulation (1.5A, 3A, 3.6A)
Adjustable Gate Ramp No
Advanced Fault Protection No
RDS (ON) (Ohms) 0.045
Reporting FAULT-bar for OC, Unique in class PGOOD Output
System Management: System Resets, Power Indicators, Fault Detection No
UV/OV Feature UV Lockout
Bias Voltage Range (V) 2.5 - 5.5
Qualification Level Standard

封装选项

Pkg. Type Pkg. Dimensions (mm) Lead Count (#) Pitch (mm)
SOICN 4.9 x 3.9 x 0.00 8 1.3

应用方框图

HMI system block diagram featuring high-performance RZ MPU with different display options and Wi-Fi, Bluetooth LE, and NFC connectivity.
高性能人机界面(HMI)系统
多功能模块系统(SoM),用于驱动各种人机界面功能。
Multi-Display HMI SoM Block Diagram
多显示器 HMI SoM
具有优化功耗和时序的 SOM 支持多显示器嵌入式应用。
Industrial Barcode Scanner Block Diagram
工业条码扫描器
高速工业条码扫描器方案,适用于集成 AI 的工业应用。

其他应用

  • USB Port Power Management Including USB 30
  • Low Power Electronic Circuit Limiting and Breaker

当前筛选条件