跳转到主要内容
瑞萨电子 (Renesas Electronics Corporation)

特性

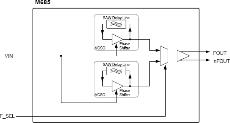
  • Two integrated SAW devices and selectable output frequency
  • supports multi-rate optical interfaces
  • M685-01 output frequencies from 125 to 177 MHz M685-02 output frequencies from 500 to 708 MHz (Specify center frequencies at time of order)
  • Industry-standard Kvco for full compatibility
  • Low phase jitter 0.2ps rms typical for the M685-02 (50kHz to 80MHz)
  • Differential 3.3V LVPECL output
  • Single 3.3V power supply
  • Small 5 x 7.5mm SMT (surface mount) package
  • Pb-free / Compliant to EC RoHS Directive

描述

The M685 is a dual SAW, selectable frequency VCSO frequency source for low-jitter clock generation. An integrated SAW (surface acoustic wave) delay line implements the high-Q VCO (voltage controlled oscillator) function, which results in low output phase noise and very low jitter. The M685-01 is available in a range of center frequencies from 125 to 177 MHz. The M685-02 provides 500 to 708 MHz. Guaranteed minimum pull-range of ±120 ppm meets GbE requirements. (It also fully satisfies ±50 ppm minimum pull-range specification commonly required.) Industry-standard Kvco (VCO Gain) provides full replacement compatibility. The M685 is well suited for phase-locked loop implementations, clock and data recovery circuits, and other timing applications in telecom and optical fiber networking systems (e.g., OC-48).

当前筛选条件