跳转到主要内容

特性

  • 1.8 V and 3.3 V power supplies
  • 3.3 V CMOS input buffers
  • 32-bit programmable NCO frequency
  • 650 Msps maximum update rate
  • Differential scalable output current from 1.6 mA to 22 mA
  • Dual 14-bit resolution
  • Dual port or Interleaved data modes
  • External analog offset control (10-bit auxiliary DACs)
  • Fully compatible SPI port
  • Industrial temperature range from -40°C to +85°C
  • Input data rate up to 160 Msps
  • Internal digital offset control
  • Inverse (sin x) / x function
  • LVDS compatible clock
  • On-chip 1.29 V reference
  • Power-down and Sleep modes
  • Selectable 2x, 4x or 8x interpolation filters
  • 2's complement or binary offset data format
  • Typical 0.95 W power dissipation at 4x interpolation
  • Very low noise cap-free integrated PLL

描述

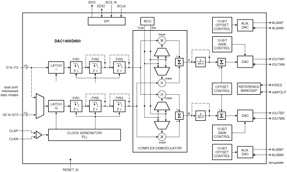
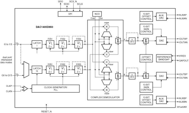
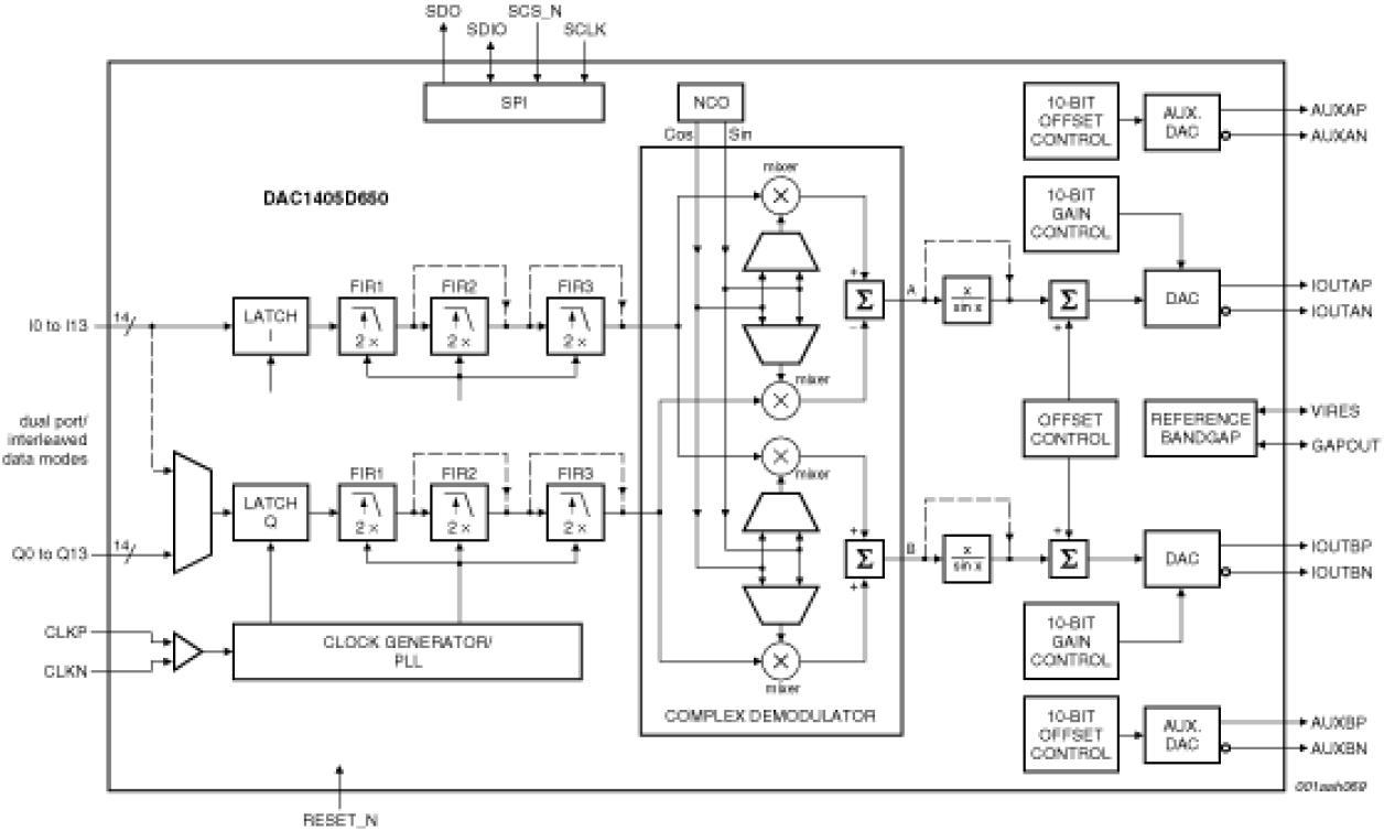
The DAC1405D650HW is a high-speed 14-bit dual channel digital-to-analog converter (DAC) with selectable x4 to x8 interpolating filters.

当前筛选条件