| CAD 模型: | View CAD Model |
| Pkg. Type: | PLCC |
| Pkg. Code: | NGH |
| Lead Count (#): | 44 |
| Pkg. Dimensions (mm): | 16.51 x 16.51 x 0.00 |
| Pitch (mm): | 1.27 |
| Pb (Lead) Free | No |
| ECCN (US) | EAR99 |
| HTS (US) | 8542.39.0090 |
| Moisture Sensitivity Level (MSL) |
| Lead Count (#) | 44 |
| Carrier Type | Tube |
| Pb (Lead) Free | No |
| Temp. Range (°C) | 0 to +70°C |
| Bandwidth (MHz) | 120 |
| Configuration | 8x8 |
| Diff Gain (%) | 0.05 |
| Diff Phase (°) | 0.05 |
| Gain Min | 0.99 |
| IS (mA) | 68 |
| Input Type | Single-Ended |
| Length (mm) | 16.5 |
| MOQ | 156 |
| Pitch (mm) | 1.3 |
| Pkg. Dimensions (mm) | 16.5 x 16.5 x 0.00 |
| Pkg. Type | PLCC |
| Qualification Level | Standard |
| Slew Rate (V/µs) | 200 |
| Width (mm) | 16.5 |
Support is limited to customers who have already adopted these products.
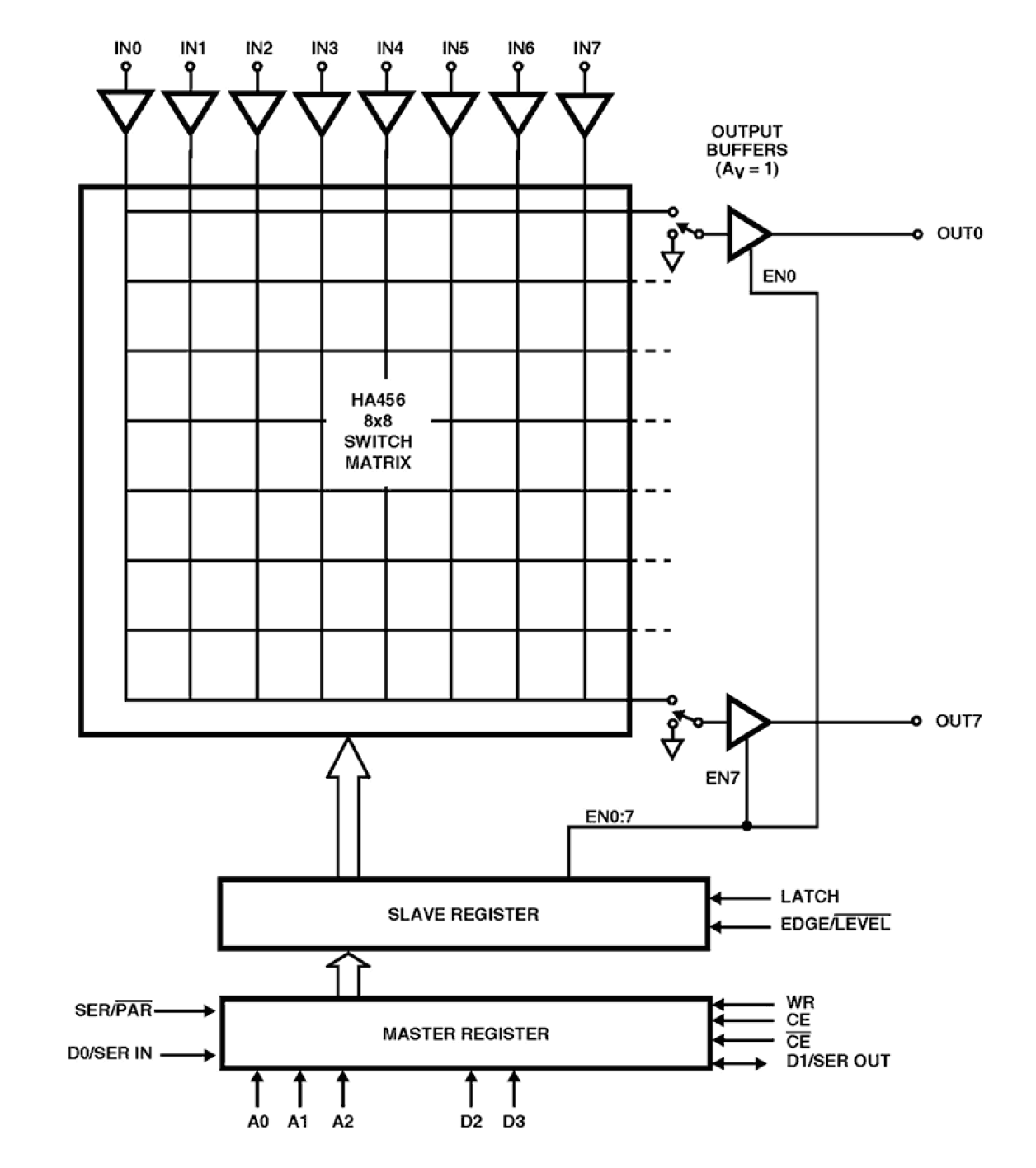
The HA456 is the first 8x8 video crosspoint switch suitable for high performance video systems. Its high level of integration significantly reduces component count, board space, and cost. The crosspoint switch contains a digitally controlled matrix of 64 fully buffered switches that connect 8 video input signals to any, or all, matrix outputs. Each matrix output connects to an internal, high-speed (200V/µs), unity gain buffer capable of driving 400Ω and 5pF to ±2V. For applications requiring gain or increased drive capability, the HA456 outputs can be connected directly to two HFA1412 quad, gain of two video buffers, which are capable of driving 75Ω loads. This crosspoint's true high impedance three-state output capability, makes it feasible to parallel multiple HA456s and form larger switch matrices.