| CAD 模型: | View CAD Model |
| Pkg. Type: | QFN |
| Pkg. Code: | LDT |
| Lead Count (#): | 32 |
| Pkg. Dimensions (mm): | 7.0 x 7.0 x 1.00 |
| Pitch (mm): | 0.5 |
| Moisture Sensitivity Level (MSL) | 2 |
| Pb (Lead) Free | No |
| ECCN (US) | |
| HTS (US) |
| Lead Count (#) | 32 |
| Carrier Type | Tube |
| Moisture Sensitivity Level (MSL) | 2 |
| Pitch (mm) | 0.5 |
| Pkg. Dimensions (mm) | 7.0 x 7.0 x 1.00 |
| Pb (Lead) Free | No |
| Pb Free Category | Solder Plate |
| Temp. Range (°C) | 0 to +70°C |
| Length (mm) | 7 |
| Long. Balance (dB) | 58 |
| Loop Current (Min) (mA) | 58 |
| MOQ | 645 |
| Pkg. Type | QFN |
| Qualification Level | Standard |
| Thickness (mm) | 1 |
| Width (mm) | 7 |
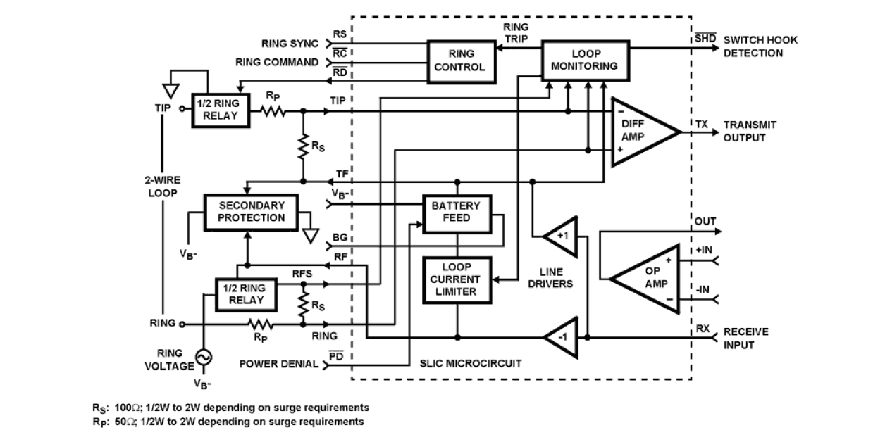
The HC5503PRC is a low cost SLIC optimized for large Telecom switches. It combines a flexible voltage feed architecture with the Intersil latch-free DI bonded wafer process, to provide a low component count, carrier class solution at very low cost. The re-configurable design permits simple, economical solutions for campus-wide call center and PBX applications. External components can be used in conjunction with the high battery voltage capability to meet the complex impedance and long loop drive requirements of Central Office switches, worldwide.