跳转到主要内容
瑞萨电子 (Renesas Electronics Corporation)

特性

  • Low Bit Error Rate
  • Data Rate 1MBit/s
  • Sync Identification and Lock-In
  • Clock Recovery
  • Manchester II Encoder, Decoder
  • Separate Encode and Decode
  • Low Operating Power 50mW at 5V
  • Single Power Supply
  • 24 Ld Package
  • Pb-Free Plus Anneal Available (RoHS Compliant)

描述

Support is limited to customers who have already adopted these products.

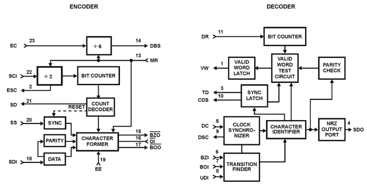
The HD-6408 is a CMOS/LSI Manchester Encoder/Decoder for creating a very high speed asynchronous serial data bus. The Encoder converts serial NRZ data (typically from a shift register) to Manchester II encoded data, adding a sync pulse and parity bit. The Decoder recognizes this sync pulse and identifies it as a Command Sync or a Data Sync. The data is then decoded and shifted out in NRZ code (typically into a shift register). Finally, the parity bit is checked. If there were no Manchester or parity errors the Decoder responds with a valid word signal. The Decoder puts the Manchester code to full use to provide clock recovery and excellent noise immunity at these very high speeds. The HD-6408 can be used in many commercial applications such as security systems, environmental control systems, serial data links and many others. It utilizes a single 12 x clock and achieves data rates of up to one million bits per second with a very minimum overhead of only 4 bits out of 20, leaving 16 bits for data.

当前筛选条件