特性
- 2 个定时通道和 4 个独立频域
- 输出抖动低于 100fs RMS
- 数字 PLL(DPLL)可锁定至 0.5kHz 至 1GHz 范围内的任何频率
- DPLL/数控振荡器(DCO)可产生 0.5Hz 至 1GHz 的任意频率
- DCO 输出可与任何 DPLL 或 DCO 的输出在相位和频率上保持一致
- 可用作抖动衰减器、时钟发生器或同步器
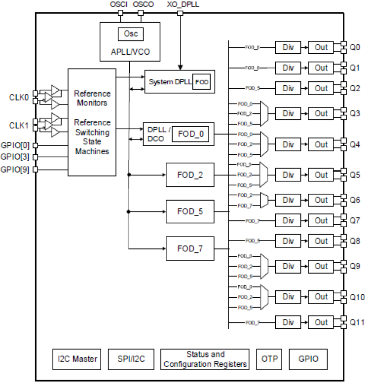
- 基准电压监测器根据 LOS、活动、频率监测和/或 LOS 输入引脚来鉴定/取消基准电压源
- 自动参考选择状态机根据参考监视器、优先级表、可恢复/不可恢复和其他可编程设置为每个 DPLL 选择有效参考
- 该器件需要晶体振荡器或基模晶体:25MHz 至 54MHz
- 该器件可以在重置后通过以下方式自动配置:
- 内部客户可编程一次性可编程存储器
- 标准外部 I2C EPROM,通过单独的 I2C 主端口
描述
RC32012A 可再生和分配超低抖动时钟输出,并具有多达 4 个独立频域,这些频域既可以锁定到外部参考时钟,也可以锁定到自由运行晶体或振荡器。 数字 PLL(DPLL)支持在来自冗余时序源的参考信号之间进行无中断信号切换。 该器件支持多个独立的定时通道:IEEE 1588 时钟合成、SyncE 时钟生成、抖动衰减和无线电时钟生成,包括用于转换器的 SYSREF 生成。 所有输入到输入、输入到输出和输出到输出相位偏差均可精确管理。 该器件输出超低抖动时钟,可直接同步运行速率高达 56Gbps 的 SERDES;以及 CPRI/OBSAI、SONET/SDH ADC/DAC。 该器件非常适合用于 100G/200G/400G/800G 电信交换线路卡、交换卡和无线小型蜂窝应用。
如需查看该产品系列中的其他器件,请访问ClockMatrix 定时解决方案页面。
产品参数
| 属性 | 值 |
|---|---|
| Inputs (#) | 10 |
| Input Type | HCSL, LVDS, LVHSTL, LVPECL, SSTL |
| Product Category | FemtoClock NG |
| Diff. Outputs | 12 |
| Output Type | HSTL, LVCMOS, LVDS, LVHSTL, LVPECL, LVTTL |
| Output Voltage (V) | 1.2V, 1.5V, 1.8V, 2.5V, 3.3V |
| Input Freq (MHz) | 0.001 - 1000 |
| Phase Jitter Typ RMS (ps) | 0.15 |
| Output Freq Range (MHz) | 5.0E-7 - 1000 |
| Fractional Output Dividers (#) | 6 |
| Core Voltage (V) | 2.5V, 3.3V |
| Output Banks (#) | 6 |
| Loop Bandwidth Range (Hz) | 0.0001 - 12000 |
| Xtal Freq (KHz) | 25 - 54 |
| Advanced Features | PWM Encoder/Decoder, ToD, 1PPS, DCO, IEEE 1588, JESD204B, JESD204C, T-BC, T-TSC Class C, eEEC |
| 105°C Max. Case Temp. | 0 |
封装选项
| Pkg. Type | Pkg. Dimensions (mm) | Lead Count (#) | Pitch (mm) |
|---|---|---|---|
| VFQFPN | 10.0 x 10.0 x 1.0 | 72 | 0.5 |
当前筛选条件
筛选
软件与工具
样例程序
模拟模型
Introducing the IDT ClockMatrix™ family of devices - high-performance, precision timing solutions designed to simplify clock designs for applications with up to 100 Gbps interface speeds.
They can be used anywhere in a system to perform critical timing functions, such as clock generation, frequency translation, jitter attenuation and phase alignment. A range of devices in the family support BBU, OTN, SyncE, synthesizer and jitter attenuator applications with several density options for each.
For more information, visit the ClockMatrix™ Timing Solutions page.