| CAD 模型: | View CAD Model |
| Pkg. Type: | CABGA |
| Pkg. Code: | AJG144 |
| Lead Count (#): | 144 |
| Pkg. Dimensions (mm): | 10.0 x 10.0 x 1.2 |
| Pitch (mm): | 0.8 |
| Moisture Sensitivity Level (MSL) | 3 |
| Pb (Lead) Free | Yes |
| ECCN (US) | EAR99 |
| HTS (US) | 8542.39.0090 |
| Lead Count (#) | 144 |
| Carrier Type | Reel |
| Moisture Sensitivity Level (MSL) | 3 |
| Qty. per Reel (#) | 1500 |
| Qty. per Carrier (#) | 0 |
| Pb (Lead) Free | Yes |
| Pb Free Category | e1 SnAgCu |
| Temp. Range (°C) | -40 to 85°C |
| Application | PTP Timing Card, SETS, Low-cTE Timing Card |
| Channels (#) | 6 |
| Clock Support | G.813, G.8262, G.8262.1, GR-1244-CORE, GR-253-CORE, G.8273.2 |
| Core Voltage (V) | 2.5V, 3.3V |
| Diff. Inputs | 4 |
| Diff. Outputs | 14 |
| Family Name | ClockMatrix |
| Fractional Output Dividers (#) | 8 |
| Function | System Synchronizer |
| Input Freq (MHz) | 5.0E-7 - 1000 |
| Input Type | HCSL, LVDS, LVHSTL, LVPECL, SSTL |
| Inputs (#) | 8 |
| Length (mm) | 10 |
| Longevity | 2040 4月 |
| MOQ | 1500 |
| Output Banks (#) | 8 |
| Output Freq Range (MHz) | 5.0E-7 - 1000 |
| Output Skew (ps) | 50 |
| Output Type | HSTL, LVCMOS, LVDS, LVHSTL, LVPECL, LVTTL |
| Output Voltage (V) | 1.2V, 1.5V, 1.8V, 2.5V, 3.3V |
| Outputs (#) | 24 |
| Phase Jitter Max RMS (ps) | 0.2 |
| Phase Jitter Typ RMS (ps) | 0.1 |
| Pitch (mm) | 0.8 |
| Pkg. Dimensions (mm) | 10.0 x 10.0 x 1.2 |
| Pkg. Type | CABGA |
| Product Category | IEEE 1588 |
| Prog. Interface | I2C, SPI |
| Reel Size (in) | 13 |
| Reference Output | No |
| Requires Terms and Conditions | Does not require acceptance of Terms and Conditions |
| Spread Spectrum | No |
| Tape & Reel | Yes |
| Thickness (mm) | 1.2 |
| Width (mm) | 10 |
| Xtal Freq (KHz) | 25 - 54 |
| 已发布 | No |
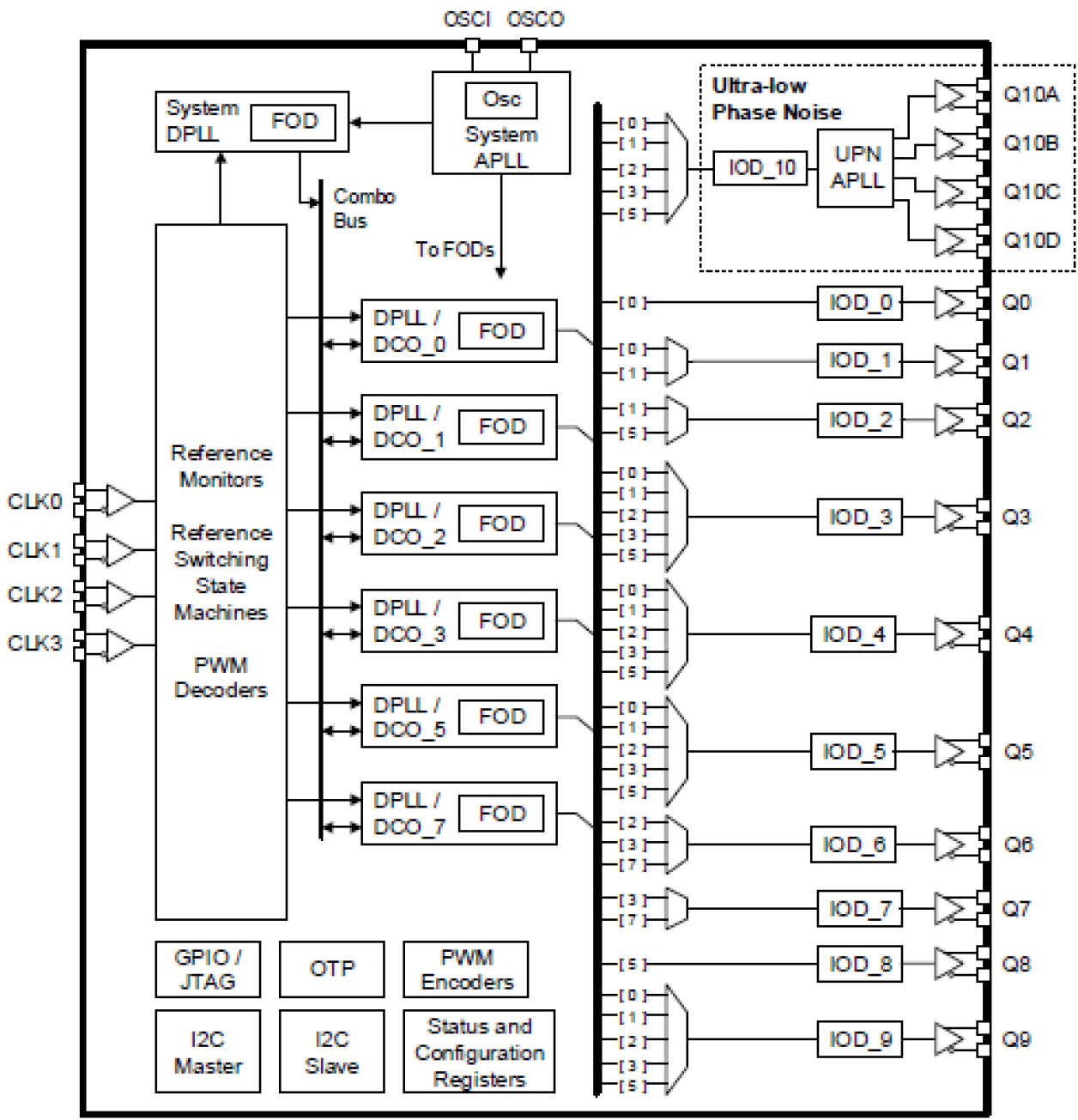
RC32614A IEEE 1588 系统同步器根据 IEEE 1588 精确时间协议(PTP)和同步以太网(SyncE)生成超低抖动的精确定时信号。 该器件可用作系统的单个定时和同步源,也可以将两个器件用作冗余对,以提高系统可靠性。
数控振荡器(DCO)可由运行在外部处理器上的 IEEE 1588 时钟恢复伺服软件进行控制。 该器件支持使用数字 PLL(DPLL)和其他时序模块实现同步设备时序源(SETS)以实现 SyncE 的物理层时序。 DCO 可单独使用 IEEE 1588 信息进行控制,也可根据 ITU-T G.8273.2 将 IEEE 1588 时间信息与来自 SyncE 的物理层频率信息相结合。
该器件可用于主动测量和补偿跨背板和跨电路板的时钟传播延迟,以确保系统中 IEEE 1588 时间戳单元(TSU)之间以最小的时间误差准确分配时间和相位。 该器件支持多个独立通道,用于控制 IEEE 1588 时钟合成、SyncE 时钟生成、抖动衰减和通用频率转换。 所有输入到输入、输入到输出和输出到输出相位偏差均可精确管理。 该器件输出超低抖动时钟,可直接同步高达 112Gbps 的 PAM-4 PHY,以及 CPRI/OBSAI、SONET/SDH 和 PDH 接口和 IEEE 1588 TSU。