跳转到主要内容
瑞萨电子 (Renesas Electronics Corporation)

特性

  • Four potentiometers per package
  • 64 resistor taps
  • 2-wire serial interface for write, read and transfer operations of the potentiometer
  • 50Ω wiper resistance, typical at 5V
  • Four nonvolatile data registers for each potentiometer
  • Nonvolatile storage of multiple wiper position
  • Power-on recall. Loads saved wiper position on power-up standby current 1μA typical
  • System VCC: 2.7V operation
  • 10kΩ end-to-end resistance
  • 100 year data retention
  • Endurance: 100,000 data changes per bit per register
  • Low power CMOS
  • 24 Ld TSSOP
  • Pb-free (RoHS compliant)

描述

Support is limited to customers who have already adopted these products.

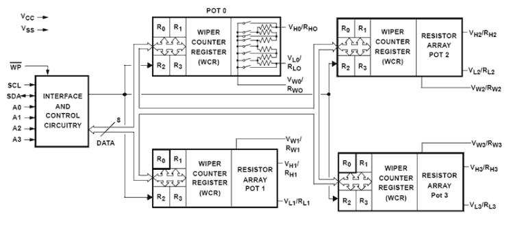
The X9409 integrates 4 digitally controlled potentiometers (XDCP) on a monolithic CMOS integrated microcircuit. The digitally controlled potentiometer is implemented using 63 resistive elements in a series array. Between each element are tap points connected to the wiper terminal through switches. The position of the wiper on the array is controlled by the user through the 2-wire bus interface. Each potentiometer has associated with it a volatile Wiper Counter Register (WCR) and 4 nonvolatile Data Registers (DR0:DR3) that can be directly written to and read by the user. The contents of the WCR controls the position of the wiper on the resistor array through the switches. Power-up recalls the contents of DR0 to the WCR. The XDCP can be used as a three-terminal potentiometer or as a two-terminal variable resistor in a wide variety of applications including control, parameter adjustments and signal processing.

当前筛选条件