| CAD 模型: | View CAD Model |
| Pkg. Type: | SOICN |
| Pkg. Code: | MAX |
| Lead Count (#): | 8 |
| Pkg. Dimensions (mm): | 4.9 x 3.9 x 0.00 |
| Pitch (mm): | 1.3 |
| ECCN (US) | EAR99 |
| HTS (US) | 8542.39.0090 |
| Moisture Sensitivity Level (MSL) | 1 |
| Pb (Lead) Free | Yes |
| Carrier Type | Tube |
| MOQ | 800 |
| Advanced Features | Integrated charge pump to allow for single supply to swing -5.5V to 5.5V |
| Channels (#) | 1 |
| End-to-End Temperature Coefficient (ppm/°C) | 400 |
| Interface | 3-Wire (Up/Down) |
| Lead Count (#) | 8 |
| Length (mm) | 4.9 |
| Memory Type | Nonvolatile |
| Middlepoint Ratiometric Tempco | 20 |
| Moisture Sensitivity Level (MSL) | 1 |
| Pb (Lead) Free | Yes |
| Pb Free Category | Pb-Free 100% Matte Tin Plate w/Anneal-e3 |
| Pitch (mm) | 1.3 |
| Pkg. Dimensions (mm) | 4.9 x 3.9 x 0.00 |
| Pkg. Type | SOICN |
| Qualification Level | Standard |
| Resistance Options (kΩ) | 32 |
| Resistance Taper | Logarithmic |
| Single Supply Voltage Range (V) | 5.5 |
| Supply Current Icc (µA) | 200 |
| Supply Voltage Vcc (Min) (V) | 4.5 |
| Supply Voltage Vcc Range | 4.5 to 5.5 |
| Taps (#) | 100 |
| Temp. Range (°C) | 0 to +70°C |
| VL Terminal Voltage (Max) (V) | 5 |
| VL Terminal Voltage (Min) (V) | -5 |
| Width (mm) | 3.9 |
| Wiper Current (mA) | 1 |
| Wiper Resistance (ohms) | 40 |
Support is limited to customers who have already adopted these products.
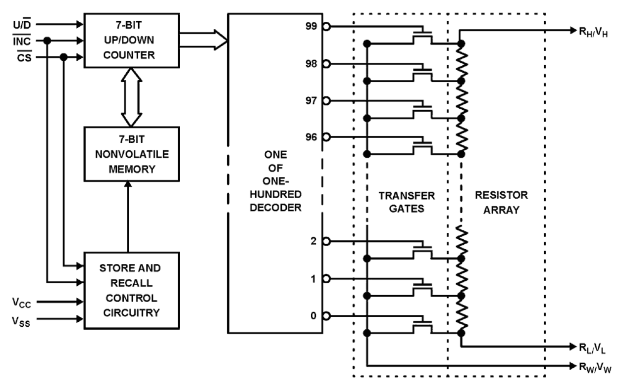
The Intersil X9C303 is a digitally controlled potentiometer (XDCP). The device consists of a resistor array, wiper switches, a control section, and nonvolatile memory. The wiper position is controlled by a three-wire interface. The resistor array is composed of 99 resistive elements. Between each element and at either end are tap points accessible to the wiper terminal. The position of the wiper element is controlled by the CS, U/D, and INC inputs. The position of the wiper can be stored in nonvolatile memory and then be recalled upon a subsequent power-up operation. The device can be used as a three-terminal potentiometer or as a two-terminal variable resistor in a wide variety of applications ranging from control, to signal processing, to parameter adjustment. Digitally-controlled potentiometers provide three powerful application advantages; (1) the variability and reliability of a solid-state potentiometer, (2) the flexibility of computer-based digital controls, and (3) the use of nonvolatile memory for potentiometer settings retention.