跳转到主要内容
瑞萨电子 (Renesas Electronics Corporation)

特性

  • Programmable digital control loop
  • Single-phase, single-rail solution
  • Optional PMBus™ address selection without external resistors
  • VIN feed-forward
  • Advanced, digital control techniques
  • Improved transient response and noise immunity
  • Discontinuous conduction mode (DCM) and phase dropping at light loads
  • Protection features
  • Fuse-based NVM for improved reliability
  • Re-programmable one-time programmable (OTP) memory feature
  • VOUT sequencing from external source
  • Integrated VID interface 
  • Current balancing between both phases
  • Tri-state PWM outputs
  • Additional driver support options
  • Constant on-time controller (COT) in DCM

描述

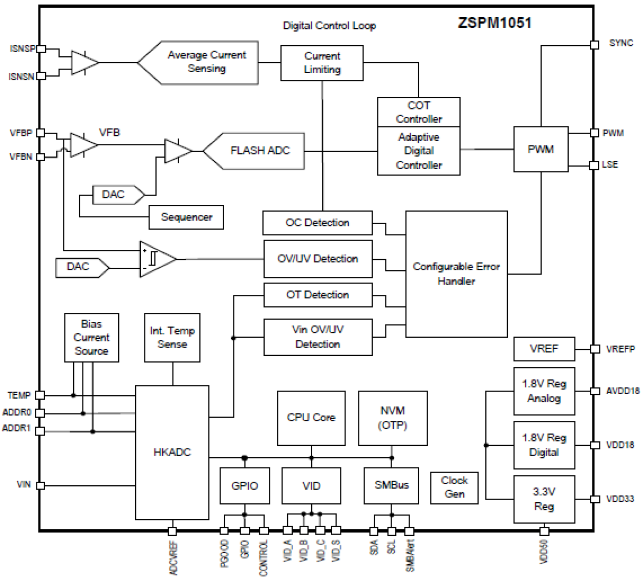
The ZSPM1051 is a configurable true-digital single-phase PWM controller for high-current, non-isolated DC/DC supplies. It operates as a synchronous step-down converter in a single-rail and single-phase configuration. The ZSPM1051 integrates a digital control loop, optimized for maximum flexibility and stability, as well as load step and steady-state performance. In addition, a rich set of protection and monitoring functions is provided. On-chip, non-volatile memory (NVM), and an I²C interface facilitate configuration. The integrated VID interface allows for perfect system integration together with Texas Instruments' high-performance DSPs, such as the C2000 line of DSPs. The PC-based Pink Power Designer™ graphical user interface (GUI) provides a user-friendly and easy-to-use interface to the device for communication and configuration. It can guide the user through the design of the digital compensator and offers intuitive configuration methods for additional features, including protection and sequencing.

当前筛选条件