瑞萨电子丰富的显示处理器产品组合包括用于消费者与汽车应用的 LCD 与 TFT 处理器和控制器、视频格式转换器和视频解码器。

视频和培训
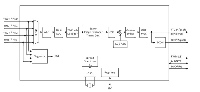
Parking assistance is now considered a safety feature and will be required in American vehicles starting in 2018. Renesas's TW8844 is the industry's first full HD LCD video processor and features fast boot reliability, frozen detection, and automatic contrast adjustment.
Related Resources
Transcript
In the United States, the federal government has mandated that rear visibility technology be deployed as standard equipment on all new vehicles. As a result, the rear camera system is no longer considered a parking assistance feature, it's a safety feature.
Hi, I'm Jonpaul Jandu, Senior Marketing Manager for Intersil's Automotive Video Products. I'm here today to introduce our TW8844, the industry's first full HD LCD controller and video processor. The TW8844 is optimized to ensure rear camera reliability in the car system. Let me explain the demonstration we have here that's designed to show how that works.
First, we have a display that's showing what the camera from your rear camera system should be showing. This represents your user interface on your main display coming out of an SOC, typically. This is the actual display that would be in the center of your car. The challenges faced by OEMs today to be compliant with the new federal law that requires rear cameras in all new vehicles sold in the U.S. starting in 2018 is that the law says you should have video in less than two seconds from shifting to reverse gear. One of the challenges is that these SOCs are running complicated operating systems. Sometimes, it can take quite a while for them to boot up. The TW8844 can turn on, sync to a video source, and display that video in less than half a second, solving the fast boot reliability issue faced by car makers today.
In addition, a major concern by car companies is the reliability of that camera system coming on when you need it. The SOC is running a very complicated operating system and software stack. Sometimes, it can freeze up and may not show live video when you go into reverse gear. If you're stuck on a navi screen, the user will know, "Hey, something's wrong. I'd better be careful." But the real problem is, what if you shift into reverse, and you can see your backup camera and that freezes? You think your driveway's clear, and two kids have just run behind you. This is a major safety concern. The TW8844 is capable of monitoring the status of the SOC and the video that comes out of it. If we determine that it's frozen, we can simply bypass the SOC and wrap the camera video directly to the display. This happens nearly instantaneously, and if the SOC ever recovers, we can switch back to it.
Another great feature the TW8844 has, that's designed specifically for camera systems, is automatic contrast adjustment. With this feature, we can optimize the brightness and contrast levels of the camera image, dynamically, in real time, brightening up dark areas or bringing down the levels of bright area. So, if you have a really dark area next to a bright area, we can boost that dark area up without over-saturating the bright area.
So, as you can see, the TW8844 is a great way to solve the rear camera reliability problems faced by OEMs today. In addition, it's an ideal solution for any display system in the car, including rear seat entertainment and full-display mirrors.