跳转到主要内容
瑞萨电子 (Renesas Electronics Corporation)

瑞萨电子的同步 FIFO 产品配备时钟读写控件,包含两种固定标志(空、满)与两种可编程标志(几乎空、几乎满)。 我们的同步 FIFO 解决方案非常适合需要大容量数据缓冲的场景,如网络、视频、电信、局域网(LAN)和数据通信等。 这些器件支持通过菊花链配置实现存储深度扩展。

关于同步 FIFO

关于同步 FIFO

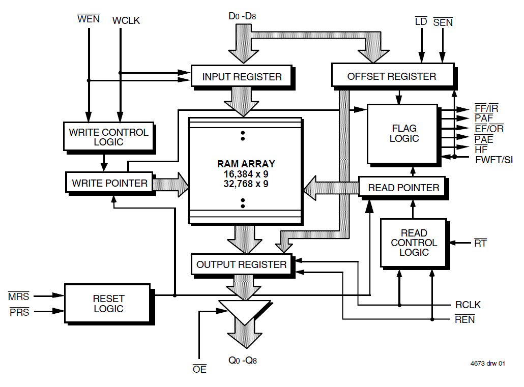
同步 FIFO 对数据进行缓冲和排列处理,确保输入端的第一个字节在输出端最先被释放。 FIFO 通常通过带读写指针的环形队列结构实现。 与使用异步信号的异步 FIFO 不同,同步 FIFO 依靠时钟使 CPU 与其他硬件同步,从而在各种应用场景中实现高效有序的数据流。

FIFO 关键参数

FIFO 关键参数

  • 密度:同步 FIFO 寄存器中可存储的位数。 瑞萨电子可提供高达 18Mb 的容量。
  • 总线宽度:用于读取和写入器件的“通道”数量。 我们提供所有常用配置。
  • 核心电压:为器件供电的电源电压,通常由系统的可用电源轨决定。
  • I/O 电压:用于数据输入和输出的电压,在某些器件中该电压与核心电压相互独立。
  • I/O 频率:支持的时钟信号频率。 我们的同步 FIFO 支持高达 225MHz 的频率。

支持

浏览文章

知识库

浏览我们的知识库,获取文章、常见问题解答及其他实用资源。
支持社区

支持社区

在线询问瑞萨电子工程社群的技术人员,快速获得技术支持。