跳转到主要内容
瑞萨电子 (Renesas Electronics Corporation)

概览

描述

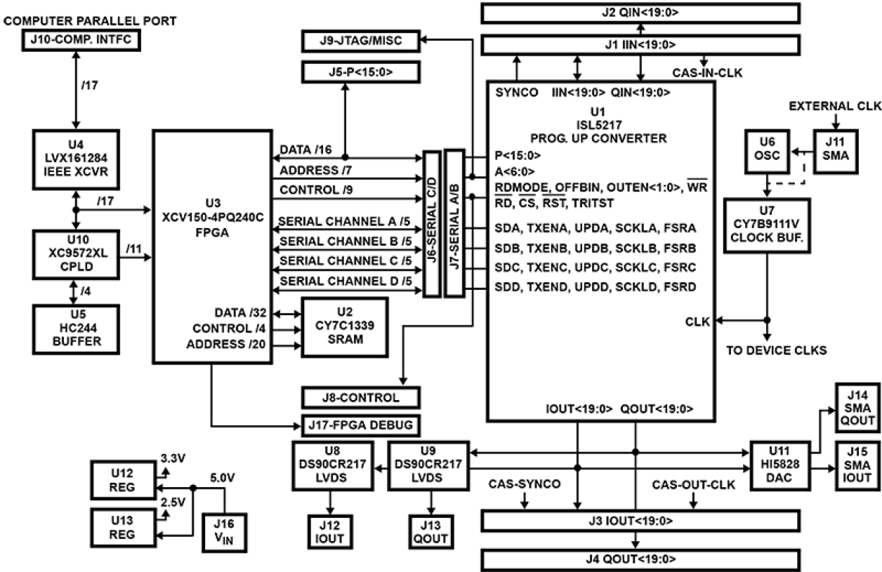
The ISL5217EVAL1 evaluation kit is used to evaluate the ISL5217 quad programmable upconverter (QPUC). The kit consists of an evaluation circuit card assembly (CCA) complete with the ISL5217 device and additional circuitry to provide for control via a computer parallel port. Windows-based demonstration software is provided for full user programmability and control of all ISL5217 operational modes.

The evaluation board provides digital outputs which are accessible through standard logic analyzer headers. It also provides both single-ended and differential analog outputs via SMA connectors and low voltage differential signal (LVDS) outputs. Documentation includes a user guide, full evaluation board schematics and PCB layout materials. Special filter files, pattern files and example configuration script files are included for quickly configuring the board.

特性

  • Evaluation CCA complete with ISL5217 programmable upconverter
  • Windows-based demonstration software
  • Example files for common modulation techniques
  • Parallel port ribbon cable and power supply cable

应用

文档

设计和开发

软件与工具

软件下载

模型

产品选项

当前筛选条件

支持

支持社区

支持社区

在线询问瑞萨电子工程社群的技术人员,快速获得技术支持。
浏览文章

知识库

浏览我们的知识库,获取文章、常见问题解答及其他实用资源。
提交工单

提交工单

需要咨询技术性问题或提供非公开信息吗?