跳转到主要内容
瑞萨电子 (Renesas Electronics Corporation)
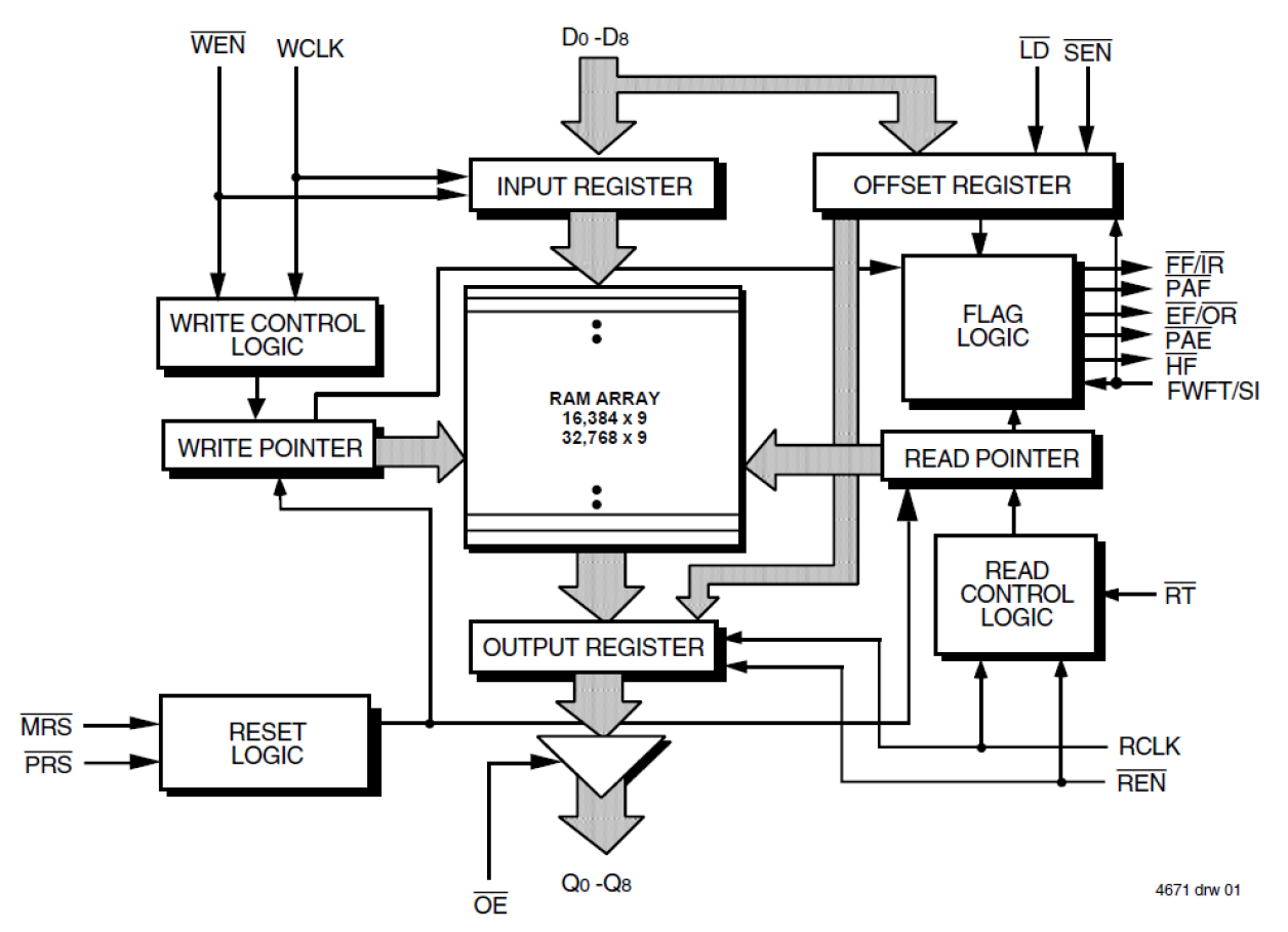
32K x 9 SuperSync FIFO, 5.0V

封装信息

CAD 模型:View CAD Model
Pkg. Type:TQFP
Pkg. Code:PNG64
Lead Count (#):64
Pkg. Dimensions (mm):14.0 x 14.0 x 1.4
Pitch (mm):0.8

环境和出口类别

Pb (Lead) FreeYes
Moisture Sensitivity Level (MSL)3
ECCN (US)
HTS (US)

产品属性

Lead Count (#)64
Pb (Lead) FreeYes
Carrier TypeTray
ArchitectureUni-directional
Bus Width (bits)9
Core Voltage (V)5
Density (Kb)288
Family NameSuperSync
I/O Frequency (MHz)100 - 100
I/O Type5.0 V TTL
InterfaceSynchronous
Length (mm)14
MOQ90
Moisture Sensitivity Level (MSL)3
Organization32K x 9
Package Area (mm²)196
Pb Free Categorye3 Sn
Pitch (mm)0.8
Pkg. Dimensions (mm)14.0 x 14.0 x 1.4
Pkg. TypeTQFP
Price (USD)$74.35744
Qty. per Carrier (#)90
Qty. per Reel (#)0
Requires Terms and ConditionsDoes not require acceptance of Terms and Conditions
Tape & ReelNo
Temp. Range (°C)0 to 70°C
Thickness (mm)1.4
Width (mm)14
已发布No

描述

The 72271 is a 32K x 9 SuperSync FIFO memory with clocked read and write controls. The Frequency Select pin (FS) has been removed, thus it is no longer necessary to select which of the two clock inputs, RCLK or WCLK, is running at the higher frequency. The period required by the retransmit operation and the first word data latency period is now fixed and short. (The variable clock cycle counting delay associated with the latency period found on previous SuperSync devices has been eliminated on this SuperSync family.)