跳转到主要内容
32K x 18 SuperSync FIFO, 5.0V

封装信息

CAD 模型: View CAD Model
Pkg. Type: TQFP
Pkg. Code: PN64
Lead Count (#): 64
Pkg. Dimensions (mm): 14.0 x 14.0 x 1.4
Pitch (mm): 0.8

环境和出口类别

Pb (Lead) Free No
Moisture Sensitivity Level (MSL) 3
ECCN (US)
HTS (US)

产品属性

Pkg. Type TQFP
Lead Count (#) 64
Pb (Lead) Free No
Carrier Type Tray
Architecture Uni-directional
Bus Width (bits) 18
Core Voltage (V) 5
Density (Kb) 512
Family Name SuperSync
I/O Frequency (MHz) 100 - 100
I/O Type 5.0 V TTL
Interface Synchronous
Length (mm) 14
MOQ 90
Moisture Sensitivity Level (MSL) 3
Organization 32K x 18
Package Area (mm²) 196
Pb Free Category e0
Pitch (mm) 0.8
Pkg. Dimensions (mm) 14.0 x 14.0 x 1.4
Qty. per Carrier (#) 90
Qty. per Reel (#) 0
Requires Terms and Conditions Does not require acceptance of Terms and Conditions
Tape & Reel No
Temp. Range (°C) 0 to 70°C
Thickness (mm) 1.4
Width (mm) 14
已发布 No

描述

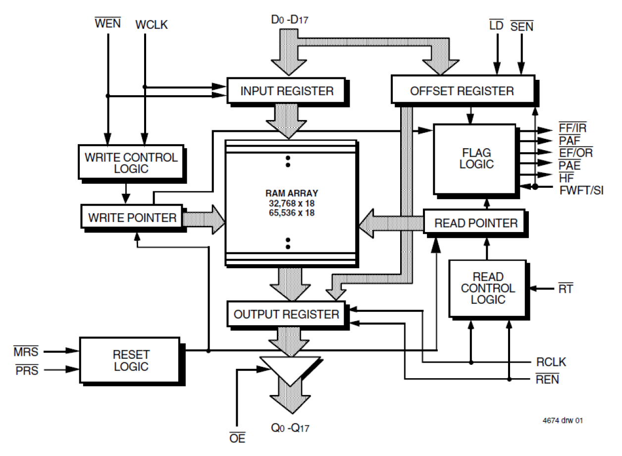
The 72275 is a 32K x 18 SuperSync FIFO memory with clocked read and write controls. The Frequency Select pin (FS) has been removed, thus it is no longer necessary to select which of the two clock inputs, RCLK or WCLK, is running at the higher frequency. SuperSync FIFOs are particularly appropriate for networking, video, telecommunications, data communications and other applications that need to buffer large amounts of data