跳转到主要内容
瑞萨电子 (Renesas Electronics Corporation)

特性

  • Pin-compatible with the IDT722x5 SuperSync FIFOs
  • 10ns read/write cycle time (6.5ns access time)
  • Fixed, low first word data latency time
  • Auto power down minimizes standby power consumption
  • Retransmit operation with fixed, low first word data latency time
  • Empty, Full and Half-Full flags signal FIFO status
  • Programmable Almost-Empty and Almost-Full flags
  • Easily expandable in depth and width
  • Independent Read and Write Clocks (permit reading and writing simultaneously)
  • Available in 64-pin TQFP and STQFP packages
  • Industrial temperature range (-40C to +85C) is available

描述

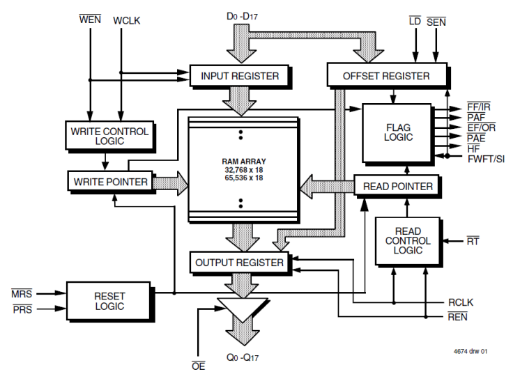
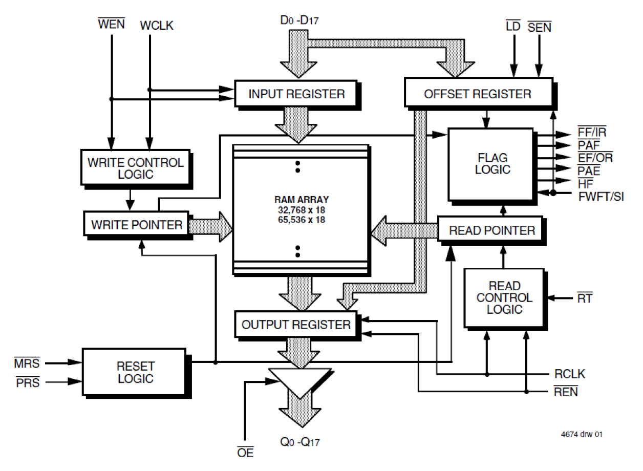
The 72285 is a 64K x 18 SuperSync FIFO memory with clocked read and write controls. The Frequency Select pin (FS) has been removed, thus it is no longer necessary to select which of the two clock inputs, RCLK or WCLK, is running at the higher frequency. SuperSync FIFOs are particularly appropriate for networking, video, telecommunications, data communications and other applications that need to buffer large amounts of data

当前筛选条件