跳转到主要内容
瑞萨电子 (Renesas Electronics Corporation)

特性

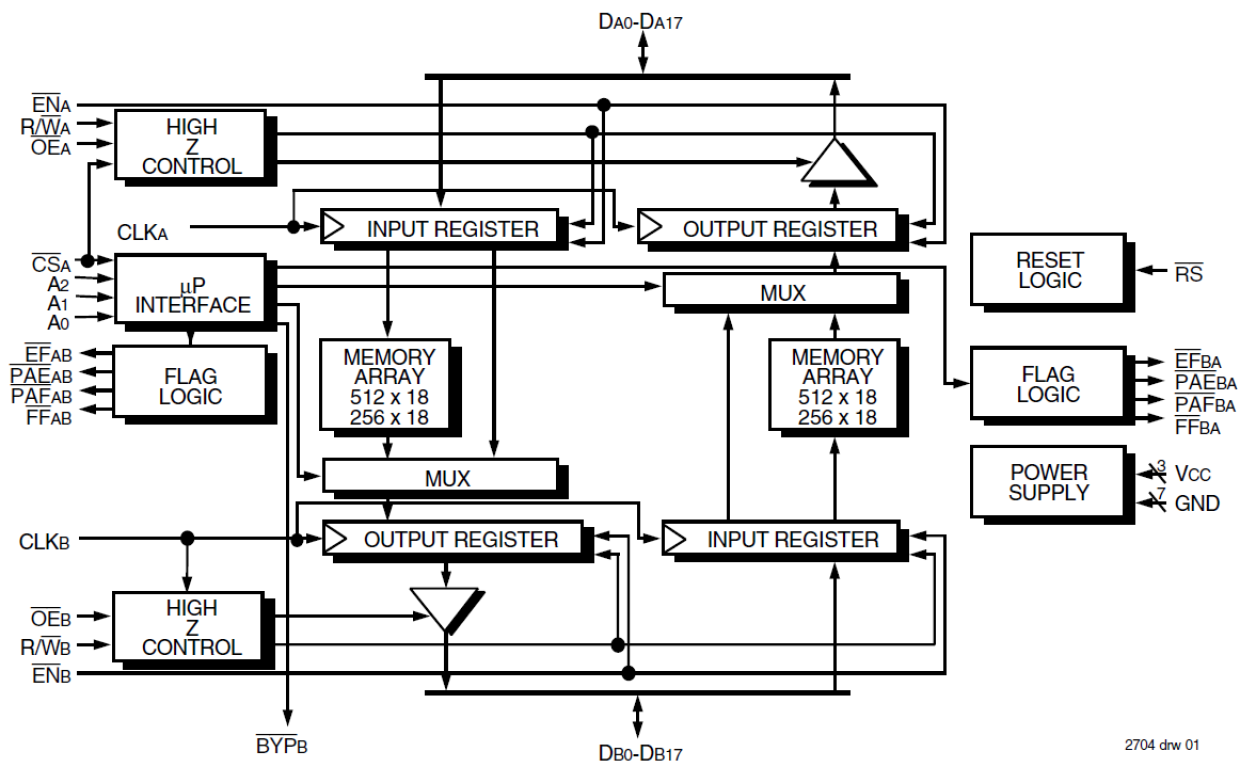
  • Two independent FIFO memories for fully bidirectional data transfers
  • Synchronous interface for fast (20ns) read and write cycle times
  • Each data port has an independent clock and read/write control
  • Output enable is provided on each port as a three-state control of the data bus
  • Built-in bypass path for direct data transfer between two ports
  • Two fixed flags, Empty and Full
  • Programmable flag offset can be set to any depth
  • Available in a 64-pin TQFP and PLCC packages
  • Industrial temperature range (–40C to +85C)

描述

The 72615 is a 512 x 18 x 2 bidirectional First-In/First-Out memory, with synchronous interface for fast read and write cycle times. The SyncBiFIFO™ is a data buffer that can store or retrieve information from two sources simultaneously. Two Dual-Port FIFO memory arrays are contained in the SyncBiFIFO; one data buffer for each direction. The SyncBiFIFO has registers on all inputs and outputs. Data is only transferred into the I/O registers on clock edges, hence the interfaces are synchronous.

当前筛选条件