| CAD 模型: | View CAD Model |
| Pkg. Type: | TQFP |
| Pkg. Code: | PR32 |
| Lead Count (#): | 32 |
| Pkg. Dimensions (mm): | 7.0 x 7.0 x 1.4 |
| Pitch (mm): | 0.8 |
| Pb (Lead) Free | No |
| Moisture Sensitivity Level (MSL) | 3 |
| ECCN (US) | |
| HTS (US) |
| Lead Count (#) | 32 |
| Pb (Lead) Free | No |
| Carrier Type | Reel |
| Architecture | Uni-directional |
| Bus Width (bits) | 9 |
| Core Voltage (V) | 3.3 |
| Density (Kb) | 2 |
| Family Name | SyncFIFO |
| I/O Frequency (MHz) | 100 - 100 |
| I/O Type | 3.3 V LVTTL |
| Interface | Synchronous |
| Length (mm) | 7 |
| MOQ | 2000 |
| Moisture Sensitivity Level (MSL) | 3 |
| Organization | 256 x 9 |
| Package Area (mm²) | 49 |
| Pb Free Category | e0 |
| Pitch (mm) | 0.8 |
| Pkg. Dimensions (mm) | 7.0 x 7.0 x 1.4 |
| Pkg. Type | TQFP |
| Qty. per Carrier (#) | 0 |
| Qty. per Reel (#) | 2000 |
| Reel Size (in) | 13 |
| Requires Terms and Conditions | Does not require acceptance of Terms and Conditions |
| Tape & Reel | Yes |
| Temp. Range (°C) | 0 to 70°C |
| Thickness (mm) | 1.4 |
| Width (mm) | 7 |
| 已发布 | No |
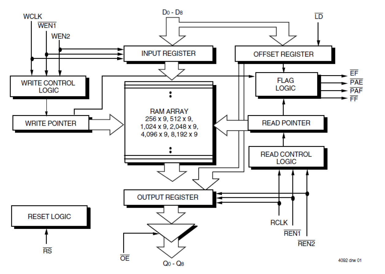
The 72V201 is a 256 x 9 First-In, First-Out memory with clocked read and write controls. It is a 3.3V version of the 72201 device. and is applicable for a wide variety of data buffering needs such as graphics, local area networks and interprocessor communication. It has 9-bit input and output ports. The Read Clock can be tied to the Write Clock for single clock operation or the two clocks can run asynchronous of one another for dualclock operation.