跳转到主要内容
瑞萨电子 (Renesas Electronics Corporation)

特性

  • Functionally compatible with the 72V255/65/75/85 SuperSync FIFOs
  • Up to 166 MHz Operation of the Clocks
  • User selectable Asynchronous read and/or write ports (BGA Only)
  • User selectable input and output port bus-sizing
  • Pin to Pin compatible to the SuperSync II 72V2x3 devices
  • 5V tolerant inputs
  • Auto power down minimizes standby power consumption
  • Master Reset clears entire FIFO
  • Partial Reset clears data, but retains programmable settings
  • Easily expandable in depth and width
  • JTAG port, provided for Boundary Scan function (BGA Only)
  • Independent Read and Write Clocks
  • Available in 80-pin TQFP or 100-pin BGA packages
  • Industrial temperature range (–40C to +85C) is available

描述

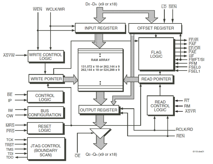
The 72V2103 256K x 9/128K x 18 SuperSync II FIFO memory has flexible x9/x18 Bus-Matching on both read and write ports. The variable clock cycle counting delay associated with the latency period found on previous SuperSync devices has been eliminated. SuperSync II FIFOs are appropriate for network, video, telecommunications, data communications and other applications that need to buffer large amounts of data and match buses of unequal sizes.

产品参数

属性
Core Voltage (V)3.3
Bus Width (bits)18
Density (Kb)2048
Pkg. CodeBCG100, PNG80
InterfaceSynchronous
I/O Type3.3 V LVTTL
I/O Frequency (MHz)66 - 66, 166 - 166
Organization128K x 18, 256K x 9
Temp. Range (°C)0 to 70°C
ArchitectureUni-directional

封装选项

Pkg. TypePkg. Dimensions (mm)Lead Count (#)Pitch (mm)
CABGA11.0 x 11.0 x 1.41001
TQFP14.0 x 14.0 x 1.4800.65

当前筛选条件