跳转到主要内容
1K x 18 / 2K x 9 SuperSync II FIFO, 3.3V

封装信息

CAD 模型:View CAD Model
Pkg. Type:TQFP
Pkg. Code:PN80
Lead Count (#):80
Pkg. Dimensions (mm):14.0 x 14.0 x 1.4
Pitch (mm):0.65

环境和出口类别

Moisture Sensitivity Level (MSL)3
Pb (Lead) FreeNo
ECCN (US)
HTS (US)

产品属性

Lead Count (#)80
Carrier TypeTray
ArchitectureUni-directional
Bus Width (bits)18
Core Voltage (V)3.3
Density (Kb)18
Family NameSuperSync II
FunctionBus Matching, JTAG
I/O Frequency (MHz)166 - 166
I/O Type3.3 V LVTTL
InterfaceSynchronous
Length (mm)14
MOQ25
Moisture Sensitivity Level (MSL)3
Organization1K x 18, 2K x 9
Package Area (mm²)196
Pb (Lead) FreeNo
Pb Free Categorye0
Pitch (mm)0.65
Pkg. Dimensions (mm)14.0 x 14.0 x 1.4
Pkg. TypeTQFP
Qty. per Carrier (#)90
Qty. per Reel (#)0
Requires Terms and ConditionsDoes not require acceptance of Terms and Conditions
Tape & ReelNo
Temp. Range (°C)0 to 70°C
Thickness (mm)1.4
Width (mm)14
已发布No

描述

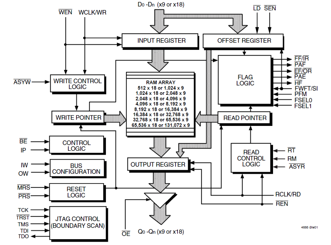
The 72V233 2K x 9/1K x 18 SuperSync II FIFO memory has flexible x9/x18 Bus-Matching on both read and write ports. The variable clock cycle counting delay associated with the latency period found on previous SuperSync devices has been eliminated. SuperSync II FIFOs are appropriate for network, video, telecommunications, data communications and other applications that need to buffer large amounts of data and match buses of unequal sizes.