| CAD 模型: | View CAD Model |
| Pkg. Type: | PBGA |
| Pkg. Code: | BB144 |
| Lead Count (#): | 144 |
| Pkg. Dimensions (mm): | 13.0 x 13.0 x 1.76 |
| Pitch (mm): | 1 |
| Pb (Lead) Free | No |
| Moisture Sensitivity Level (MSL) | 3 |
| ECCN (US) | |
| HTS (US) |
| Lead Count (#) | 144 |
| Pb (Lead) Free | No |
| Carrier Type | Tray |
| Architecture | Uni-directional |
| Bus Width (bits) | 36 |
| Core Voltage (V) | 3.3 |
| Density (Kb) | 36 |
| Family Name | SuperSync II |
| Function | Bus Matching, JTAG |
| I/O Frequency (MHz) | 133 - 133 |
| I/O Type | 3.3 V LVTTL |
| Interface | Synchronous |
| Length (mm) | 13 |
| MOQ | 100 |
| Moisture Sensitivity Level (MSL) | 3 |
| Organization | 1K x 36 |
| Package Area (mm²) | 169 |
| Pb Free Category | e0 |
| Pitch (mm) | 1 |
| Pkg. Dimensions (mm) | 13.0 x 13.0 x 1.76 |
| Pkg. Type | PBGA |
| Qty. per Carrier (#) | 160 |
| Qty. per Reel (#) | 0 |
| Requires Terms and Conditions | Does not require acceptance of Terms and Conditions |
| Tape & Reel | No |
| Temp. Range (°C) | 0 to 70°C |
| Thickness (mm) | 1.76 |
| Width (mm) | 13 |
| 已发布 | No |
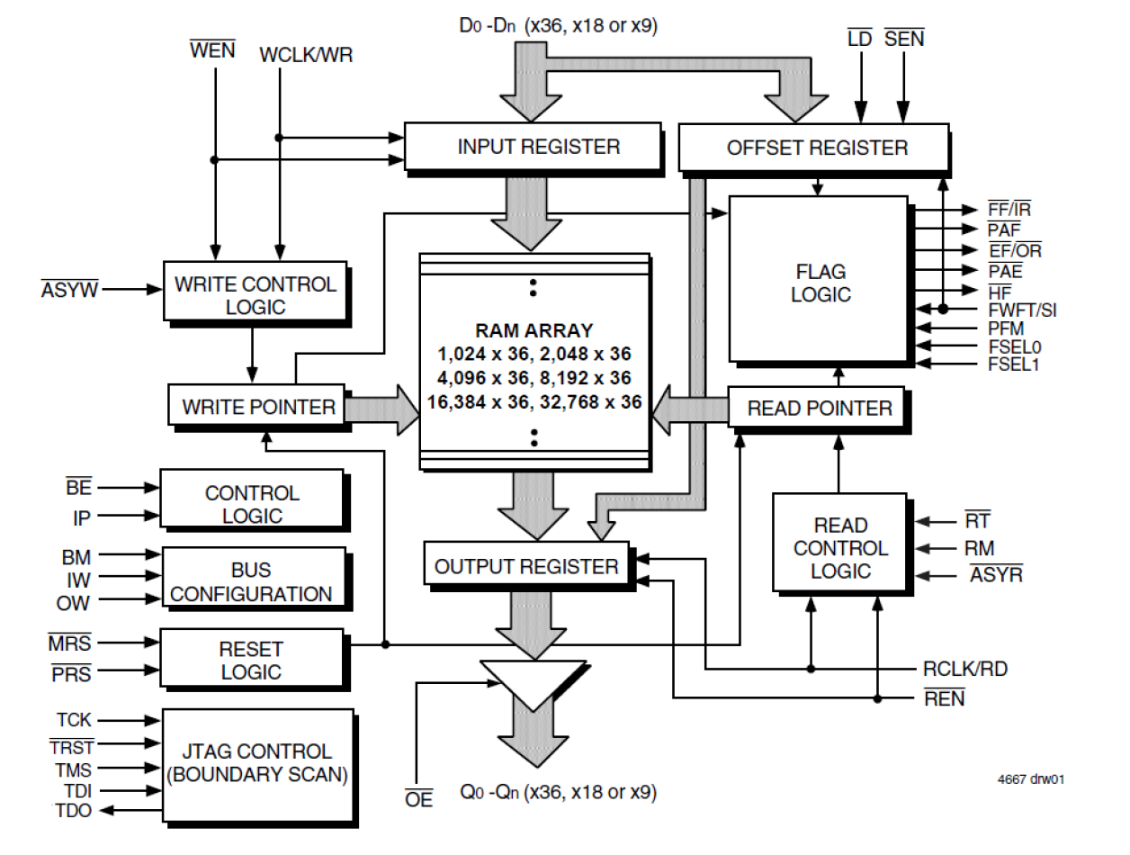
The 72V3640 1K x 36 SuperSync II FIFO memory with clocked read and write controls offers flexible Bus-Matching x36/x18/x9 data flow and asynchronous/synchronous translation on the read or write ports. SuperSync II FIFOs are appropriate for network, video, telecommunications, data communications, and other applications that need to buffer large amounts of data and match buses of unequal sizes.