| CAD 模型: | View CAD Model |
| Pkg. Type: | PLCC |
| Pkg. Code: | NKJ |
| Lead Count (#): | 68 |
| Pkg. Dimensions (mm): | 24.13 x 24.13 x 0.00 |
| Pitch (mm): | 1.27 |
| Moisture Sensitivity Level (MSL) | 4 |
| Pb (Lead) Free | No |
| ECCN (US) | |
| HTS (US) |
| Carrier Type | Tube |
| MOQ | 36 |
| Lead Count (#) | 68 |
| Length (mm) | 24.1 |
| Moisture Sensitivity Level (MSL) | 4 |
| Pb (Lead) Free | No |
| Pb Free Category | Solder Plate |
| Pitch (mm) | 1.3 |
| Pkg. Dimensions (mm) | 24.1 x 24.1 x 0.00 |
| Pkg. Type | PLCC |
| Temp. Range (°C) | -40 to +85°C |
| Width (mm) | 24.1 |
Support is limited to customers who have already adopted these products.
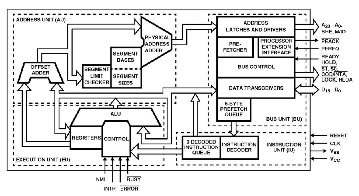
The Intersil 80C286 is a static CMOS version of the NMOS 80286 microprocessor. The 80C286 is an advanced, high-performance microprocessor with specially optimized capabilities for multiple user and multi-tasking systems. The 80C286 has built-in memory protection that supports operating system and task isolation as well as program and data privacy within tasks. A 25MHz 80C286 provides up to nineteen times the throughput of a standard 5MHz 8086. The 80C286 includes memory management capabilities that map 230 (one gigabyte) of virtual address space per task into 224 bytes (16 megabytes) of physical memory.