跳转到主要内容

特性

  • Fourth generation FemtoClock® NG technology
  • Programmable clock output frequency from 15.476MHz to 866.67MHz and from 975MHz to 1,300MHz
  • Four power-up default frequencies (see part number order codes), re-programmable by I2C
  • I2C programming interface for the output clock frequency and internal PLL control registers
  • Frequency programming resolution is 435.9Hz ÷N
  • One 2.5V, 3.3V LVPECL clock output
  • Two control inputs for the power-up default frequency
  • LVCMOS/LVTTL compatible control inputs
  • RMS phase jitter @ 156.25MHz (12kHz - 20MHz): 0.244ps (typical), integer PLL feedback configuration
  • RMS phase jitter @ 156.25MHz (1kHz - 40MHz): 0.265ps (typical), integer PLL feedback configuration
  • Full 2.5V or 3.3V supply modes
  • -40°C to 85°C ambient operating temperature
  • Available in Lead-free (RoHS 6) package

描述

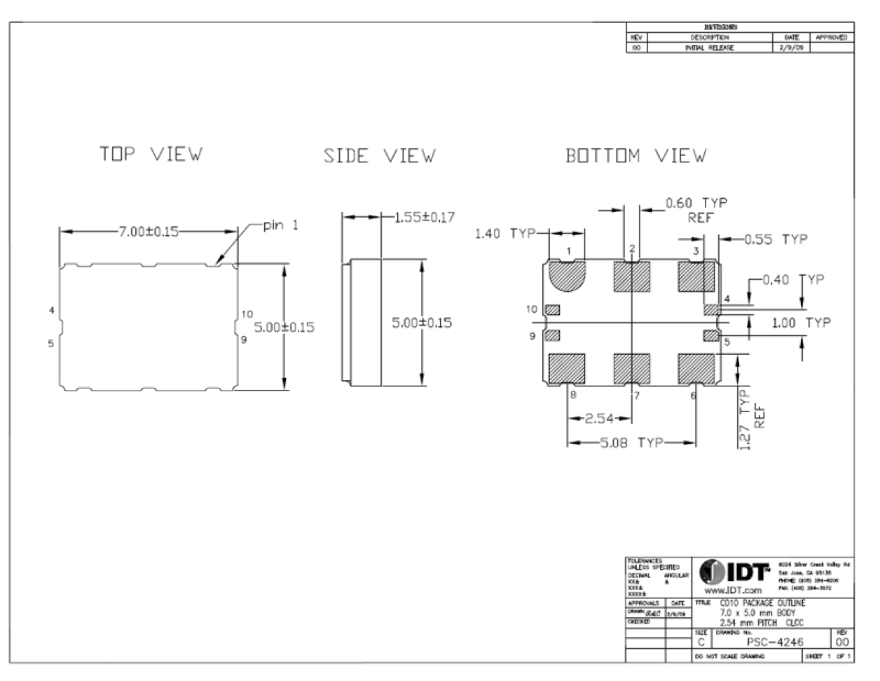
The 8N3Q001 is a Quad-Frequency Programmable Clock Oscillator with very flexible frequency programming capabilities. The device uses IDT's fourth generation FemtoClock® NG technology for an optimum of high clock frequency and low phase noise performance. The device accepts 2.5V or 3.3V supply and is packaged in a small, lead-free (RoHS 6) 10-lead Ceramic 5mm x 7mm x 1.55mm package. Besides the four default power-up frequencies set by the FSEL0 and FSEL1 pins, the 8N3Q001 can be programmed via the I2C interface to output clock frequencies between 15.476MHz to 866.67MHz and from 975MHz to 1,300MHz to a very high degree of precision with a frequency step size of 435.9Hz ÷ N (N is the PLL output divider). Since the FSEL0 and FSEL1 pins are mapped to 4 independent PLL M and N divider registers (P, MINT, MFRAC and N), reprogramming those registers to other frequencies under control of FSEL0 and FSEL1 is supported. The extended temperature range supports wireless infrastructure, telecommunication and networking end equipment requirements.

当前筛选条件

Description

IDT FemtoClock® devices are advanced clock frequency synthesizers employing a simple, low-cost, fundamental-mode quartz crystal as the low-frequency reference from which they synthesize high-quality, high-frequency clock signals. Yielding phase noise jitter of less than 1 picosecond (ps) RMS, they are ideal reference clocks for almost any jitter-sensitive application. FemtoClocks provide output clocks up to 800 MHz. Often used to replace third overtone and high frequency fundamental (HFF, inverted mesa) crystal oscillators or expensive surface acoustic wave (SAW) oscillators traditionally used to generate high-frequency clock signals, they are more reliable, cost less, and are more readily available.
 
This video gives a general overview of the low-jitter 5x7 FemtoClock NG XO and VCXO products from IDT. Presented by Vik Chaudhry, Technical Marketing, Integrated Device Technology, Inc. To learn more, visit the Crystal Oscillators page.
 
 

Transcript

My name is Vik Chaudhry. I'm the marketing manager for timing products at IDT. Today I'll review our brand-new frequency control products utilizing FemtoClock NG Technology with you. IDT recently released a family of 5x7 crystal oscillators and VCXO products based on FemtoClock NG Technology. In the following slides we'll discuss what FemtoClock NG Technology is and why it matters to the world of silicon based precision timing. We will also discuss how lead times vanish with the use of this new technology.
 
 IDT oscillators provide industry leading flexibility and configuration options. Some of the unique features about this family of parts are: One, they can generate up to four different frequencies instead of just one that traditional crystal oscillators generate. Two, these four frequencies can be defined by the customer. IDT can program these in the factory and customize it for different applications. This typically results in a user buying just one part instead of four different parts. The third benefit is that in addition to the four frequencies that are factory-programmed, one can use the I2C Interface to write to the internal registers and generate any frequency up to 1.3 gigahertz. Designers love this feature, because it allows them to check their board for different configurations without having to order new crystal oscillators. The fourth benefit is that the lead time for these parts is significantly shorter than the traditional crystal oscillators. The lead time for these parts is typically about four to six weeks, compared to fourteen to sixteen weeks for the traditional crystal oscillators. 
 
Unique to this family is IDT's new 10-lead 5x7 package. Pins one, two, three, and six, seven, and eight are the industry standard 5x7 footprint, used by all single-ended and differential oscillators on the market today. This allows IDT to use the same landing pattern as traditional oscillators. For some customers, this has become important, since the tsunami in Japan and rains in Thailand. The 10-lead package offered by IDT has additional flexibility, in terms of two frequency select pins, which allow the end-user to manually select between the four pre-programmed frequencies, and on certain devices, the ability to reprogram the default frequencies via I2C interface. 
 
FemtoClock next Generation Technology presents a leap forward in IDT's high performance clocking solutions. This technology takes low phase noise to a new level producing results up to five times lower than the traditional FemtoClock devices, coming as low as 200 Femto second RMS phase noise across the 12 kilohertz to 20 megahertz integration range. With new power supply rejection techniques, this technology can provide reference clocks for some of the most stringent applications, including wireless and wired infrastructure, 10-gigabyte Ethernet, 40-gigabyte Ethernet, and any other phase noise sensitive application. These crystal oscillators are any frequency-out type of devices, meaning that these devices can generate any output frequency between 15.4 megahertz and 1.3 gigahertz, with a precision of 0.2 PPM, utilizing its fractional divider. 
 
The following slides show the ordering process for this family of products. 
 
All the collateral for these parts is available on the IDT website. I would encourage you to visit IDT.com and then visit clock and timing section. Under clock and timing section, there's a section on frequency control products. If you click on that section, it will take you to the landing page of 5x7 devices. 
 
This page shows all the different parts in this family of products. If you click on one of the products, it will take you to the landing page of that device.
 
This slide shows the landing page of 8N3Q001 device. Here you can see the data sheet, ordering information, programming guide, and the brochures related to this product. 
This slide shows the nomenclature of IDT's crystal oscillator and VCXO parts. These parts are available in several variations, for example these available in LVCMOS, LVPECL, or LVDS output levels. One can get these in either six-lead or ten-lead packages. Supply voltages of 2.5 volts and 3.3 volts are available with ppm stability of plus-minus 20 ppm and plus-minus 50 ppm. The key to selecting the right part understands the ordering code. We have already created more than 500 codes that are programmed for the most common frequencies. If you know the four frequencies, you can look up the ordering guide and find the appropriate code. 
 
Let me show you how to find the correct code.  For example, if someone is interested in 100, 125, 156.25 and 312.5 megahertz clocks, one can look up in the table and see which codes has all these four frequencies preprogrammed. The ordering guide is a .pdf document, so one can use the search function to find the desired frequencies. My suggestion is to start with the most uncommon frequency in the search, because that will result in a smaller set of parts to select from. In this case, it would be 312.5 MHz clock. When you do the search, you will find code 1014. Unfortunately, this does not give us all the frequencies that we need. If we continue searching, we'll find code 1073 that gives us all the frequencies that we need. Now it is possible that in some cases we may not be able to find the frequencies that we are looking for. 
 
In case the code of the desired frequencies is not available, IDT can very easily program a new code. What we would need is the four different frequencies, the output levels, the frequency stability, and the supply voltage. Once we have this information, it typically takes us two to three days to create an ordering code and load it in our system, so that one can place an order. 
 
To summarize, the benefit of this crystal oscillator product is lower cost compared to traditional crystal oscillators and VCXO's, more flexibility in terms of four output frequencies and programmability. It has very good performance, less than 500 Femto second of RMS phase jitter for all cases and about 200 Femto seconds for most applications. FemtoClock Technology has been around for a long time, so there is a lot of field experience for this technology. IDT also has a large portfolio of parts and we can help customers not just with clock generation, but also with clock distribution, and other components on their boards. We also have a great support structure with other FAEs on all geographies. 
 
Thank you for your time and for more information please visit us on IDT.com or contact us at [email protected].