跳转到主要内容
瑞萨电子 (Renesas Electronics Corporation)

特性

  • Fourth generation FemtoClock® NG technology
  • Factory-programmable clock output frequency from 15.476MHz to 866.67MHz and from 975MHz to 1,300MHz
  • Frequency programming resolution is 218 and better
  • One 2.5V/3.3V LVPECL clock output
  • Output enable control (positive polarity), LVCMOS/LVTTL compatible
  • RMS phase jitter @ 156.25MHz (12kHz - 20MHz): 0.5ps (typical), design target
  • 2.5V or 3.3V supply
  • -40°C to 85°C ambient operating temperature
  • Available in a lead-free (RoHS 6) 6-pin ceramic package

描述

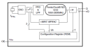
The 8N3S271 is a Frequency-Programmable Crystal Oscillator with very flexible frequency programming capabilities. The device uses IDT's fourth generation FemtoClock® NG technology for an optimum of high clock frequency and low phase noise performance (<0.5 ps RMS 12kHz - 20MHz). The device accepts 2.5V or 3.3V supply and is packaged in a small, lead-free (RoHS 6) 6-lead ceramic 5mm x 7mm x 1.55mm package. The device can be programmed to any in the range from 15.476MHz to 866.67MHz and from 975MHz to 1,300MHz and supports a very high degree of frequency precision of 218 Hz or better. The extended temperature range supports wireless infrastructure, telecommunication and networking end equipment requirements.

当前筛选条件