跳转到主要内容
瑞萨电子 (Renesas Electronics Corporation)

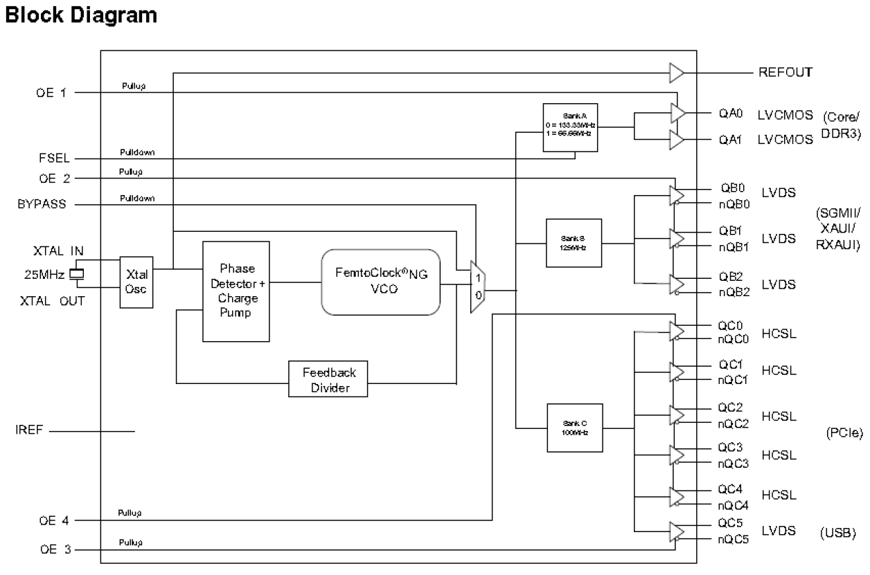
特性

  • Fourth-generation FemtoClock® NG PLL technology
  • Two LVCMOS clock outputs for core/DDR3 at 133.33MHz or 66.66MHz
  • One LVDS clock output for USB at 100MHz
  • Three LVDS clock outputs for SGMII/XAUI at 125MHz
  • Five HCSL clock outputs for PCIe at 100MHz
  • Crystal oscillator interface designed for 25MHz, parallel resonant crystal
  • PCI Express Gen 1 (2.5Gb/s), Gen 2 (5Gb/s), and Gen 3 (8Gb/s) jitter compliant
  • Full 3.3V operating supply voltage
  • Lead-free (RoHS 6) packaging
  • -40 °C to 85 °C ambient operating temperature

描述

The 8V49N211NLI is a high-performance PLL-based clock generator designed to interface with Broadcom XLP2xxx processors. The device has one 25MHz crystal input to generate output frequencies to support XLP Core/DDR3, USB, SGMII/XAUI, and PCIe reference clocks in a single chip. The 8V49N211I low jitter VCO easily meets PCI Express Gen 1, 2, and 3 requirements.

Renesas' fourth-generation FemtoClock® NG technology offers best-in-class phase noise performance.

当前筛选条件