特性
- LP-HCSL output; saves 2 resistors compared to standard HCSL output
- 1.8 V operation; 12 mW typical power consumption
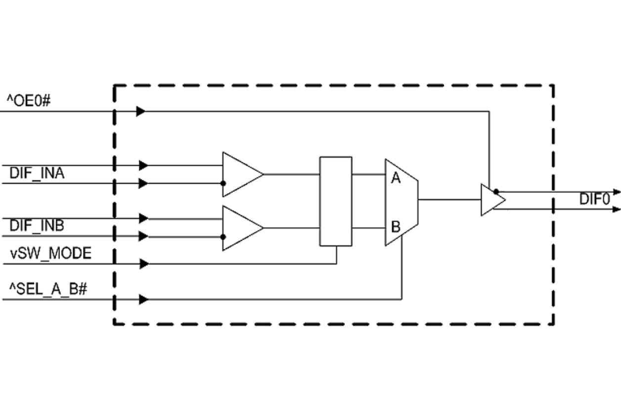
- Selectable asynchronous or glitch-free switching; allows the mux to be selected at power up even if both inputs are not running, then transition to glitch-free switching mode
- Spread spectrum compatible; supports EMI reduction
- OE# pin; supports DIF power management
- HCSL differential inputs; can be driven by common clock sources
- 1 MHz to 200 MHz operating frequency
- Space saving 3x3 mm 16-pin VFQFPN; minimal board space
描述
The 9DMV0131 is a member of Renesas' SOC-Friendly 1.8 V Very-Low-Power (VLP) PCIe Gen1–5 family. The output has an OE# pin for optimal system control and power management. The part provides asynchronous or glitch-free switching modes.
当前筛选条件
筛选
软件与工具
样例程序
模拟模型
This is the first video in our PCIe series. In this video, we define PCIe architectures, focusing on common and separate clock architectures. Watch the rest of the video series below where Ron will cover the impact of different timing architectures.
In this episode, Ron Wade from IDT (acquired by Renesas) explains PCIe common clocking and its impact on timing solutions. Learn about using a single clock source, fan-out buffers, and the considerations for spread spectrum and non-spread spectrum clocking in PCIe systems.
In this video, we explore PCIe with separate reference clocks and the effects of clock selection. Learn how separate reference clocks work and their impact on system performance and stability.
This video provides a high-level overview of Separate Reference Clock with Independent Spread (SRIS) architectures for PCI Express systems, additional performance requirements that this clocking architecture imposes on the reference clocks, and some system implications encountered trying to implement the architecture.