跳转到主要内容
瑞萨电子 (Renesas Electronics Corporation)

特性

  • 10-bit resolution
  • 3.0 V to 5.25 V operation
  • CMOS/Transistor-Transistor Logic (TTL) compatible digital inputs and outputs
  • DC sampling allowed
  • External reference voltage regulator
  • High signal-to-noise ratio over a large analog input frequency range (9.3 effective
  • bits at 1.0 MHz
  • full-scale input at fclk = 20 MHz)
  • In-Range (IR) CMOS output
  • Low analog input capacitance, no buffer amplifier required
  • No sample-and-hold circuit required
  • Power dissipation only 53 mW (typical value)
  • Sampling rate up to 20 MHz
  • Standby mode

描述

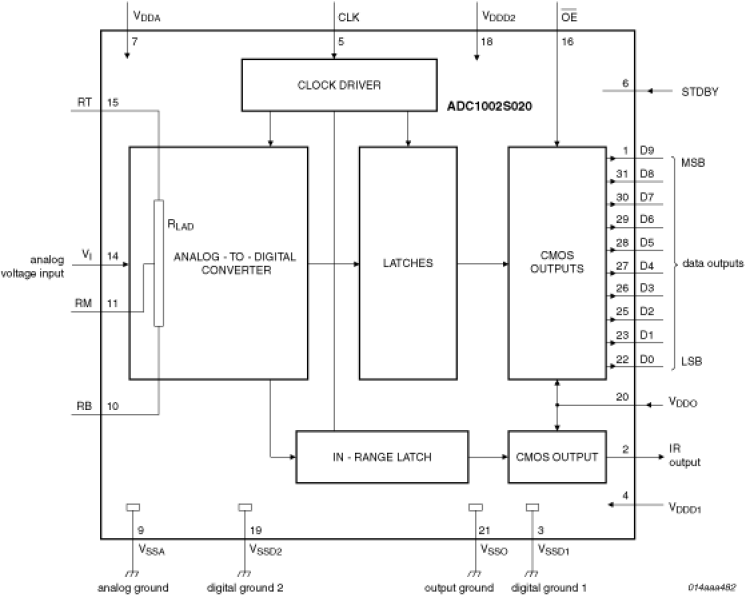
The ADC1002S020 is a 10-bit high-speed Analog-to-Digital Converter (ADC) for professional video and other applications. It converts with 3.0 V to 5.25 V operation the analog input signal into 10-bit binary-coded digital words at a maximum sampling rate of 20 MHz. All digital inputs and outputs are CMOS compatible. A standby mode allows a reduction of the device power consumption to 4 mW.

当前筛选条件