跳转到主要内容
瑞萨电子 (Renesas Electronics Corporation)

特性

  • 12-bit resolution
  • -3 dB bandwidth of 245 MHz
  • 5 V power supplies and 3.3 V output power supply
  • Binary or twos complement CMOS outputs
  • Differential AC or Positive Emitter-Coupled Logic (PECL) clock input
  • TTL
  • compatible
  • Differential analog input
  • External amplitude range control
  • In-range CMOS compatible output
  • Integrated sample and hold amplifier
  • Low analog input capacitance (typical 2 pF), no buffer amplifier required
  • Power dissipation 550 mW (typical)
  • Sampling rate up to 70 MHz
  • TTL and CMOS compatible digital outputs
  • TTL and CMOS compatible static digital inputs
  • Voltage controlled regulator included

描述

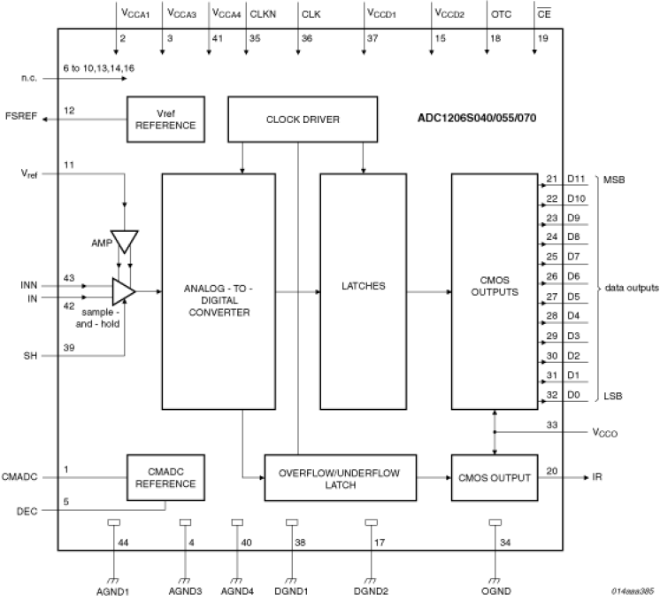
The ADC1206S040/055/070 are a family of BiCMOS 12-bit Analog-to-Digital Converters (ADC) optimized for a wide range of applications such as cellular infrastructures, professional telecommunications, imaging, and digital radio. It converts the analog input signal into 12-bit binary coded digital words at a maximum sampling rate of 70 MHz. All static digital inputs (SH, CE and OTC) are Transistor-Transistor Logic (TTL) and CMOS compatible and all outputs are CMOS compatible. A sine wave clock input signal can also be used.

当前筛选条件