跳转到主要内容
瑞萨电子 (Renesas Electronics Corporation)

特性

  • High-voltage type (20V rating)
  • 5V, 10V and 15V parametric ratings
  • Standardized, symmetrical output characteristics
  • 100% tested for quiescent current at 20V
  • Maximum input current of 1µA at 18V over full package temperature range, 100nA at 18V and +25 °C
  • Noise margin (over full package temperature range): 1V at VDD = 5V, 2V at VDD = 10V, 2.5V at VDD = 15V
  • Meets all requirements of JEDEC tentative standard No. 13A, "Standard Specifications for Description of 'B' Series CMOS Devices"

描述

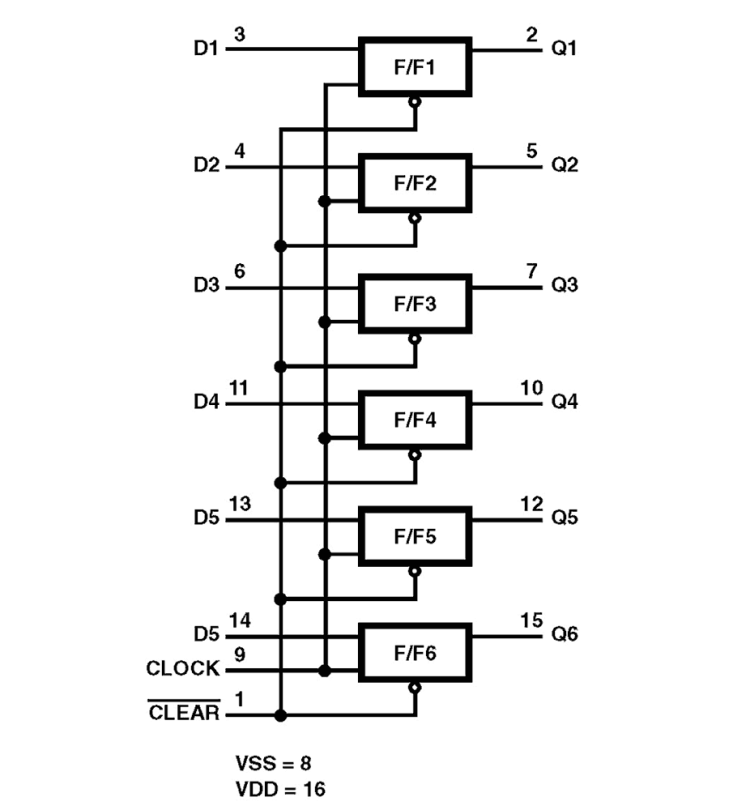
The CD40174BMS consists of six identical D-Type flip-flops having independent data inputs. The clock and clear inputs are common to all six units. Data is transferred to the Q outputs on the positive-going transition of the clock pulse. All six flip-flops are simultaneously reset by a low level on the CLEAR input. The CD40174BMS is supplied in these 16-lead outline packages: Braze Seal DIP H4T, Frit Seal DIP H1E and Ceramic Flatpack H6W.

应用

  • Shift registers
  • Buffer/Storage registers
  • Pattern generators

当前筛选条件