跳转到主要内容
瑞萨电子 (Renesas Electronics Corporation)

特性

  • (M) NTSC and (B, D, G, H, I, M, N, NC) PAL Operation
  • Optional Auto Detect of Video Standard
  • ITU-R BT.601 (CCIR601) and Square Pixel Operation
  • Videolyzer Feature
  • Macrovision™ Bypass and Detection
  • Digital Anti-Alias Filter
  • Power Down Mode
  • Digital Output Formats
  • VMI Compatible
  • 8-bit, 16-bit 4:2:2 YCbCr
  • 15-bit (5, 5, 5), 16-bit (5, 6, 5) RGB
  • Linear or Gamma-Corrected
  • 8-bit BT.656
  • Analog Input Formats
  • Three Analog Composite Inputs
  • Analog Y/C (S-video) Input
  • "Raw" (Oversampled) VBI Data Capture
  • "Sliced" VBI Data Capture Capabilities
  • Closed Captioning
  • Widescreen Signalling (WSS)
  • BT.653 System B, C and D Teletext
  • North American Broadcast Teletext (NABTS)
  • World System Teletext (WST)
  • 2-Line (1H) Comb Filter Y/C Separator
  • Fast I2C Interface
  • Pb-Free Plus Anneal Available (RoHS Compliant)

描述

Support is limited to customers who have already adopted these products.

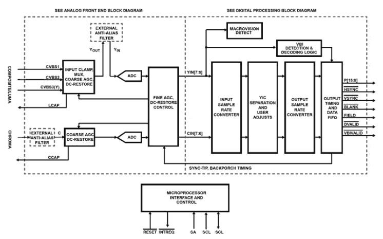
The HMP8117 is a high quality NTSC and PAL video decoder with internal A/D converters. It is compatible with NTSC M, PAL B, D, G, H, I, M, N, and combination N (NC) video standards. Both composite and S-video (Y/C) input formats are supported. A 2-line comb filter plus a user-selectable chrominance trap filter provide high quality Y/C separation. User adjustments include brightness, contrast, saturation, hue, and sharpness. Vertical blanking interval (VBI) data, such as Closed Captioning, Wide Screen Signalling and Teletext, may be captured and output as BT. 656 ancillary data. Closed Captioning and Wide Screen Signalling information may also be read out via the I2C interface. The Videolyzer™ feature provides approved Macrovision™ copy-protection bypass and detection.

应用

  • Multimedia PCs
  • Video Conferencing
  • Video Compression Systems
  • Video Security Systems
  • LCD Projectors and Overhead Panels
  • Related Products NTSC/PAL Encoders: HMP8156, HMP8170

当前筛选条件