跳转到主要内容
瑞萨电子 (Renesas Electronics Corporation)

特性

  • Electrically Screened to SMD # 5962-95693
  • QML Qualified per MIL-PRF-38535 Requirements
  • Gamma Dose 1 x 104RAD(Si)
  • No Latch-Up
  • No Channel Interaction During Overvoltage
  • Guaranteed rON Matching
  • Maximum Power Supply 44V
  • Break-Before-Make Switch
  • Analog Signal Range ±15V
  • Access Time 1.0µs

描述

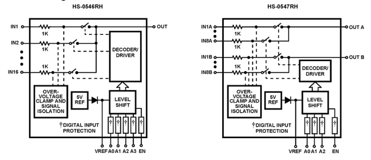
The HS-0546RH and HS-0547RH are radiation hardened analog multiplexers with Active Overvoltage Protection and guaranteed rON matching. Analog input levels may greatly exceed either power supply without damaging the device or disturbing the signal path of other channels. Active protection circuitry assures that signal fidelity is maintained even under fault conditions that would destroy other multiplexers. Analog inputs can withstand constant 70V peak-to-peak levels with ±15V supplies and digital inputs will sustain continuous faults up to 4V greater than either supply. In addition, signal sources are protected from short circuiting should multiplexer supply loss occur: each input presents 1kΩ of resistance under this condition. These features make the HS-0546RH and HS-0547RH ideal for use in systems where the analog inputs originate from external equipment or separately powered circuitry. Both devices are fabricated with 44V dielectrically isolated CMOS technology. The HS-0546 is a 16-channel device and the HS-0547 is an 8-channel differential version. If input overvoltage protection is not needed, the HS-0506 and HS-0507 multiplexers are recommended. Specifications for Rad Hard QML devices are controlled by the Defense Supply Center in Columbus (DSCC). The SMD numbers listed here must be used when ordering. Detailed Electrical Specifications for these devices are contained in SMD 5962-95693. A hot-link is provided on our homepage for downloading.

产品参数

属性
RatingSpace
ConfigurationDifferential 8:1
Negative Supply Current (max) (mA)-1
Positive Supply Current (max) (mA)2
Supply Voltage Range (V)±15
Transition Time (max)1µs
Temp. Range (°C)-55 to +125°C
TID HDR (krad(Si))10
DSEE (MeV·cm2/mg)DSEE Free (DI)
FlowRH Hermetic
Qualification LevelClass V, EM
Die Sale Availability?No
PROTO Availability?No

封装选项

Pkg. TypePkg. Dimensions (mm)Lead Count (#)Pitch (mm)
DIE
SBDIP35.6 x 15.1 x 2.41282.5

当前筛选条件