跳转到主要内容
瑞萨电子 (Renesas Electronics Corporation)

特性

  • Up to 70MSPS Input
  • Four Independently Programmable Downconverter Channels in a single package
  • Four Parallel 16-Bit Inputs - Fixed or Floating Point Format
  • 32-Bit Programmable Carrier NCO with >115dB SFDR
  • 110dB FIR Out of Band Attenuation
  • Decimation from 8 to >65536
  • 24-bit Internal Data Path
  • Digital AGC with up to 96dB of Gain Range
  • Filter Functions
    • 1 to 5 Stage CIC Filter
    • Halfband Decimation and Interpolation FIR Filter
    • Programmable FIR Filter
    • Resampling FIR Filter
  • Cascadable Filtering for Additional Bandwidth
  • Four Independent Serial Outputs
  • 3.3V Operation
  • Pb-Free Available (RoHS Compliant)

描述

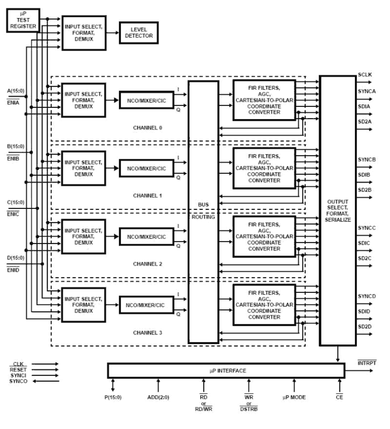
The HSP50216 Quad Programmable Digital Downconverter (QPDC) is designed for high dynamic range applications such as cellular basestations where multiple channel processing is required in a small physical space. The QPDC combines into a single package, a set of four channels which include: digital mixers, a quadrature carrier NCO, digital filters, a resampling filter, a Cartesian-to-polar coordinate converter and an AGC loop. The HSP50216 accepts four channels of 16-bit real digitized IF samples which are mixed with local quadrature sinusoids. Each channel carrier NCO frequency is set independently by the microprocessor. The output of the mixers are filtered with a CIC and FIR filters, with a variety of decimation options. Gain adjustment is provided on the filtered signal. The digital AGC provides a gain adjust range of up to 96dB with programmable thresholds and slew rates. A cartesian to polar coordinate converter provides magnitude and phase outputs. A frequency discriminator provides a frequency output via the FIR filter. Selectable outputs include I samples, Q samples, Magnitude, Phase, Frequency and AGC gain. The output resolution is selectable from 4-bit fixed point to 32-bit floating point. The maximum output bandwidth achievable using a single channel is at least 1MHz.

应用

  • Narrow-Band TDMA through IS-95 CDMA Digital Software Radio and Basestation Receivers
  • Wide-Band Applications: W-CDMA and UMTS Digital Software Radio and Basestation Receivers

当前筛选条件