特性
- Pb-Free Plus Anneal Available (RoHS Compliant)
- ESD protection for RS-232 I/O pins to ±15kV (IEC61000)
- Manual and enhanced automatic powerdown
- Drop in replacements for MAX3224E, MAX3226E, MAX3244E
- Meets EIA/TIA-232 and V.28/V.24 specifications at 3V
- RS-232 compatible with VCC = 2.7V
- Latch-up free
- On-chip voltage converters require only four external 0.1µF capacitors
- Ensured mouse driveability (ICL3244E)
- “Ready to Transmit” indicator output (ICL3224E/ICL3226E)
- Receiver hysteresis for improved noise immunity
- Ensured minimum data rate 250kbps
- Ensured minimum slew rate 6V/µs
- Wide power supply range single +3V to +5.5V
- Low supply current in powerdown state 1µA
描述
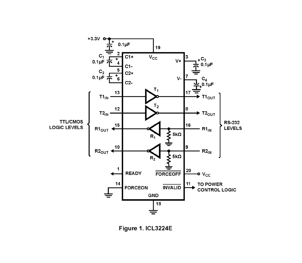
The ICL3224E, ICL3226E, and ICL3244E devices are 3. 0V to 5. 5V powered RS-232 transmitters/receivers that meet ElA/TIA-232 and V. 28/V. 24 specifications, even at VCC = 3. 0V. They provide ±15kV ESD protection (IEC61000-4-2 Air Gap and Human Body Model) on transmitter outputs and receiver inputs (RS-232 pins). Targeted applications are PDAs, Palmtops, and notebook and laptop computers where the low operational power and even lower standby power consumption are critical. Efficient on-chip charge pumps coupled with manual and enhanced automatic powerdown functions, reduce the standby supply current to a 1µA trickle. Small footprint packaging and the use of small, low value capacitors ensure board space savings. Data rates greater than 250kbps are ensured at worst case load conditions. This family is fully compatible with 3. 3V only systems, mixed 3. 3V and 5. 0V systems, and 5. 0V only systems. The ICL3244E is a 3-driver, 5-receiver device that provides a complete serial port suitable for laptop or notebook computers. It also includes a noninverting always-active receiver for “wake-up” capability. The ICL3224E, ICL3226E, and ICL3244E feature an enhanced automatic powerdown function that powers down the on-chip power supply and driver circuits. Powerdown occurs when all receiver and transmitter inputs detect no signal transitions for a period of 30s. These devices power back up automatically whenever they sense a transition on any transmitter or receiver input.
产品参数
| 属性 | 值 |
|---|---|
| Transmitters (#) | 2 |
| Receivers (#) | 2 |
| High ESD Protection | Yes |
| Data Rate (Mbps) | 0.5 |
| Supply Voltage Vcc Range | 3-5.5 |
| Manual Shutdown | Yes |
| Auto Shutdown | No |
| Rx Disable | No |
| Charge-pump Capacitance Value (µF) | 0.1 |
| IS Enabled (mA) | 0.3 |
| IS Disabled (μA) | 1 |
封装选项
| Pkg. Type | Pkg. Dimensions (mm) | Lead Count (#) | Pitch (mm) |
|---|---|---|---|
| SSOP | 7.2 x 5.3 x 1.73 | 20 | 0.7 |
应用
- Any system requiring RS-232 communication ports
- Battery powered hand-held and portable equipment
- Laptop computers and notebooks
- Palmtops modems, printers, and other peripherals
- Digital cameras
- Cellular/mobile phones
当前筛选条件