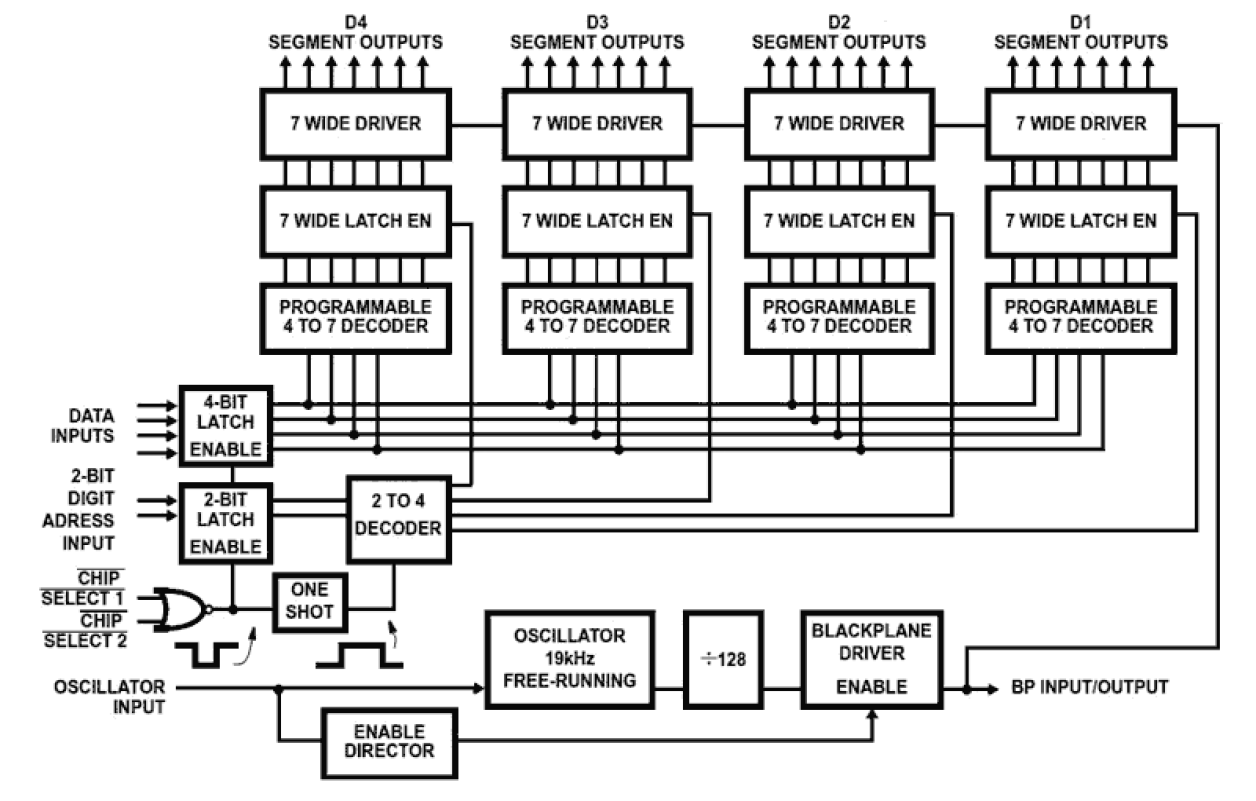
特性
- Four Digit Non-Multiplexed 7 Segment LCD Display Outputs with Backplane Driver
- Complete Onboard RC Oscillator to Generate Backplane Frequency
- Backplane Input/Output Allows Simple Synchronization Slave-Devices to a Master
- Provides Data and Digit Address Latches Controlled Chip Select Inputs to Provide a Direct High-Speed Processor Interface
- Decodes Binary to Code B (0-9, Dash, E, H, L, P, Blank)
- Pb-Free Plus Anneal Available (RoHS Compliant)
描述
The ICM7211AM device is a non-multiplexed four-digit seven-segment CMOS LCD display decoder-driver. This device is configured to drive conventional LCD displays by providing a complete RC oscillator, divider chain, backplane driver, and 28 segment outputs. It also has a microprocessor compatible input configuration, which provides data input latches and Digit Address latches under control of high-speed Chip Select inputs. These devices simplify the task of implementing a cost-effective alphanumeric seven-segment display for microprocessor systems, without requiring extensive ROM or CPU time for decoding and display updating. The ICM7211AM provides the Code B output code, i. e. , 0-9, dash, E, H, L, P, blank, but will correctly decode true BCD to seven-segment decimal outputs.
产品参数
| 属性 | 值 |
|---|---|
| Interface | MUX BCD |
| Qualification Level | Standard |
封装选项
| Pkg. Type | Pkg. Dimensions (mm) | Lead Count (#) | Pitch (mm) |
|---|---|---|---|
| PDIP | 52.1 x 14.0 x 4.06 | 40 | 2.5 |
当前筛选条件