| CAD 模型: | View CAD Model |
| Pkg. Type: | PDIP |
| Pkg. Code: | EWP |
| Lead Count (#): | 28 |
| Pkg. Dimensions (mm): | 35.6 x 14.0 x 4.06 |
| Pitch (mm): | 2.5 |
| Moisture Sensitivity Level (MSL) | Not Applicable |
| Pb (Lead) Free | Yes |
| ECCN (US) | EAR99 |
| HTS (US) | 8542.39.0090 |
| RoHS (ICM7228BIPIZ) | 下载 |
| Lead Count (#) | 28 |
| Carrier Type | Tube |
| Moisture Sensitivity Level (MSL) | Not Applicable |
| Pitch (mm) | 2.5 |
| Pkg. Dimensions (mm) | 35.6 x 14.0 x 4.06 |
| Pb (Lead) Free | Yes |
| Pb Free Category | Pb-Free 100% Matte Tin Plate w/Anneal-e3 |
| Temp. Range (°C) | -40 to +85°C |
| Country of Assembly | MALAYSIA, TAIWAN, PHILIPPINES |
| Country of Wafer Fabrication | USA |
| Alphanumeric | No |
| Cycle Time (ns) | 500 |
| Display Digits | 8 |
| Display Type | LED, CA or CC |
| Font | CODE B, HEX |
| Interface | BIT PAR., DIGIT SER. |
| Length (mm) | 35.6 |
| MOQ | 1716 |
| Multiplexed | Yes |
| Pkg. Type | PDIP |
| Price (USD) | $9.68462 |
| Qualification Level | Standard |
| Thickness (mm) | 4.06 |
| Width (mm) | 14 |
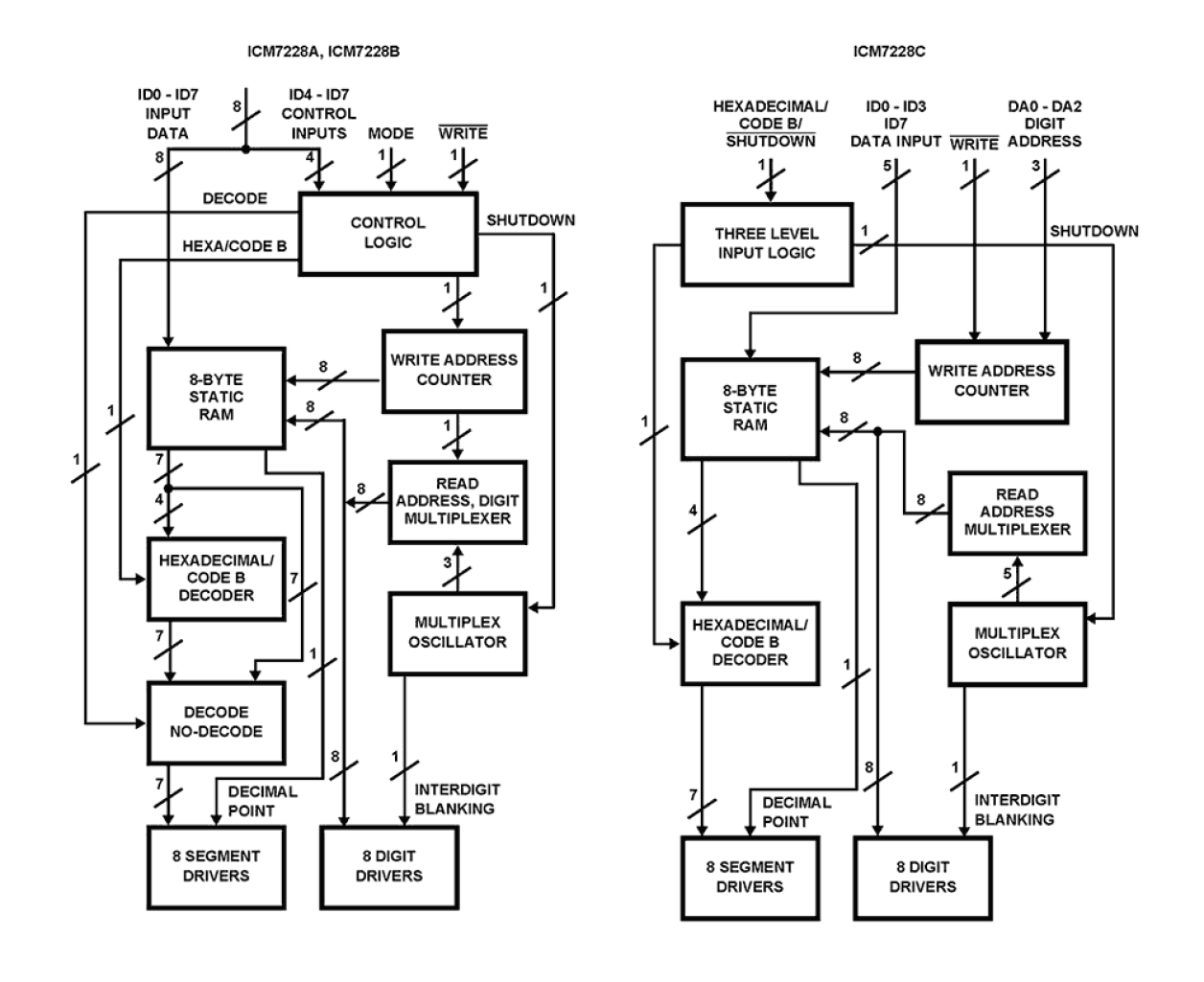
The Intersil ICM7228 display driver interfaces microprocessors to an 8-digit, 7-segment, numeric LED display. Included on chip are two types of 7-segment decoder, multiplex scan circuitry, LED display segment drivers, LED display digit drivers and an 8-byte static memory as display RAM. Data can be written to the ICM7228A and ICM7228B's display RAM in sequential 8-digit update or in single-digit update format. Data is written to the ICM7228C display RAM in parallel random access format. The ICM7228A and ICM7228C drive common anode displays. The ICM7228B drives common cathode displays. All versions can display the RAM data as either Hexadecimal or Code B format. The ICM7228A and ICM7228B incorporate a No Decode mode allowing each bit of each digIt's RAM word to drive individual display segments resulting in independent control of all display segments. As a result, bargraph and other irregular display segments and formats can be driven directly by this chip. The Intersil ICM7228 is an alternative to both the Maxim ICM7218 and the Intersil ICM7218 display drivers. Notice that the ICM7228A/B has an additional single digit access mode. This could make the Intersil ICM7218A/B software incompatible with ICM7228A/B operation.