跳转到主要内容
瑞萨电子 (Renesas Electronics Corporation)

特性

  • Real Time Clock/Calendar
  • Tracks Time in Hours, Minutes, and Seconds
  • Day of the Week, Day, Month, and Year
  • Security and Event Functions
  • Tamper detection with Time Stamp in Normal and Battery Backed modes
  • Event Detection During Battery Backed or Normal Modes
  • Selectable Event Input Sampling Rates Allows Low Power Operation
  • Selectable Glitch Filter on Event Input Monitor
  • Separate FOUT pin with 15 Selectable Frequencies
  • Single Alarm
  • Settable to the Second, Minute, Hour, Day of the Week, Day, or Month
  • Single Event or Pulse Interrupt Mode
  • Automatic Backup to Battery or Super Cap
  • Power Failure Detection
  • On-Chip Oscillator Compensation
  • 2 Bytes Battery-Backed User SRAM
  • I2C Interface
  • 400kHz Data Transfer Rate
  • 400nA Battery Supply Current
  • Small Package
  • 10 Ld MSOP
  • Pb-Free (RoHS Compliant)

描述

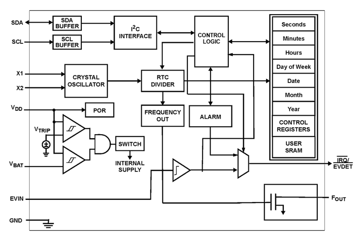
The ISL1221 device is a low power real time clock with Event Detect and Time Stamp function, timing and crystal compensation, clock/calendar, power fail indicator, periodic or polled alarm, intelligent battery backup switching with separate FOUT output and 2 Bytes of battery-backed user SRAM. The oscillator uses an external, low-cost 32. 768kHz crystal. The real time clock tracks time with separate registers for hours, minutes, and seconds. The device has calendar registers for date, month, year and day of the week. The calendar is accurate through 2099, with automatic leap year correction.

应用

  • Utility Meters
  • Set Top Box/Modem
  • POS Equipment
  • Network Routers, Hubs, Switches, Bridges
  • Cellular Infrastructure Equipment
  • Fixed Broadband Wireless Equipment
  • Test Meters/Fixtures
  • Vending Machine Management
  • Security and Anti Tampering Applications Panel/Enclosure Status Warranty Reporting Time Stamping Applications Patrol/Security Check (Fire or Light Equipment) Automotive Applications

当前筛选条件