跳转到主要内容
瑞萨电子 (Renesas Electronics Corporation)

特性

  • Proximity sensing
  • Ambient IR cancellation during proximity sensing
    • Works under direct sunlight
  • IR LED driver with programmable source current
    • Adjustable current drive from 100mA to 12.5mA
  • Programmable LED current modulation frequency
  • Variable conversion resolution
  • Simple output code directly proportional to lux
  • Adjustable sensitivity up to 65 counts per lux
  • Selectable range (via I2C)
  • Integrated 50Hz/60Hz noise rejection
  • Works under various light sources, including sunlight
  • Light sensor close to human eye response
    • Excellent light sensor IR and UV rejection
  • Proximity sensor range from 850nm to 950nm
    • Can use either 850nm or 950nm LED solution
  • 90µA max operating current
  • Software shutdown and automatic shutdown
    • 0.5µA max shutdown current
  • I2C (SMBus compatible) output
  • No complex algorithms needed
  • Temperature compensated
  • Small form factor
    • 8 Ld 2.0mm x 2.1mm x 0.7mm ODFN package
  • I2C and SMBus compatible
  • 1.7V to 3.63V supply for I2C interface
  • 2.25V to 3.63V sensor power supply
  • Pb-Free (RoHS compliant)

描述

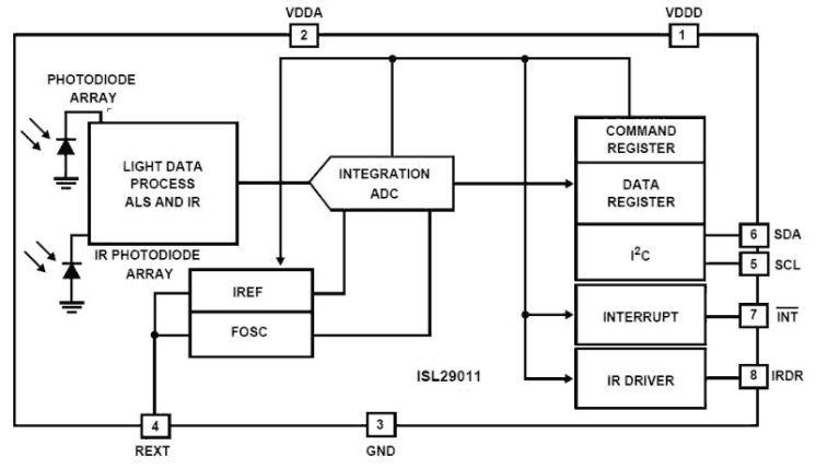
The ISL29011 is an integrated ambient and infrared light-to-digital converter with a built-in IR LED driver and I2C Interface (SMBus compatible). This device provides not only ambient light sensing to allow robust backlight/display brightness control but also infrared sensing to allow proximity estimation featured with interrupt function. 

For ambient light sensing, an internal ADC has been designed based on the charge-balancing A/D conversion technique. The ADC conversion time is nominally 90ms and is user adjustable from 11µs to 90ms, depending on oscillator frequency and ADC resolution. This ADC is capable of rejecting 50Hz and 60Hz flicker noise caused by artificial light sources. The lux-range-select feature allows users to program the lux range for optimized counts/lux. For proximity sensing, the ADC is used to digitize the output signal from the photodiode array when the internal IR LED driver is turned on and off for the programmed time periods under user-selected modulation frequency to drive the external IR LED. As this proximity sensor employs a noise cancellation scheme to highly reject unwanted IR noise, the digital output of proximity sensing decreases with distance. 

The driver output current is user selectable up to 100mA to drive different types of IR emitter LEDs. Six different modes of operation can be selected via the I2C interface: Programmable ALS once with auto power-down, programmable IR sensing once, programmable proximity sensing once, programmable continuous ALS sensing, programmable continuous IR sensing and programmable continuous proximity sensing. The programmable one-time operation modes greatly reduce power because an immediate automatic shutdown reduces overall supply current less than 0.5µA. The ISL29011 supports both hardware and software interrupts that remain asserted until the host clears it through the I2C interface for ambient light sensing and proximity detection. 

Designed to operate on supplies from 2.25V to 3.63V, the ISL29011 is specified for operation over the -40 °C to +85 °C ambient temperature range. It is packaged in a clear, Pb-free 8 Ld ODFN package.

应用

  • Display and keypad dimming adjustment and proximity sensing
  • Mobile devices: Smartphones, PDAs, GPS
  • Computing devices: Notebook PCs, Webpads
  • Consumer devices: LCD-TVs, digital picture frames, digital cameras
  • Industrial and medical light and proximity sensing

当前筛选条件