跳转到主要内容
瑞萨电子 (Renesas Electronics Corporation)

特性

  • 510MHz bandwidth into 150Ω
  • ±1600V/µs slew rate
  • High impedance buffered inputs
  • Internally set gain-of-2
  • High speed three-state outputs (HIZ)
  • Power-down mode (ENABLE)
  • ±5V operation
  • Supply current 11mA/ch
  • Pb-Free (RoHS compliant)

描述

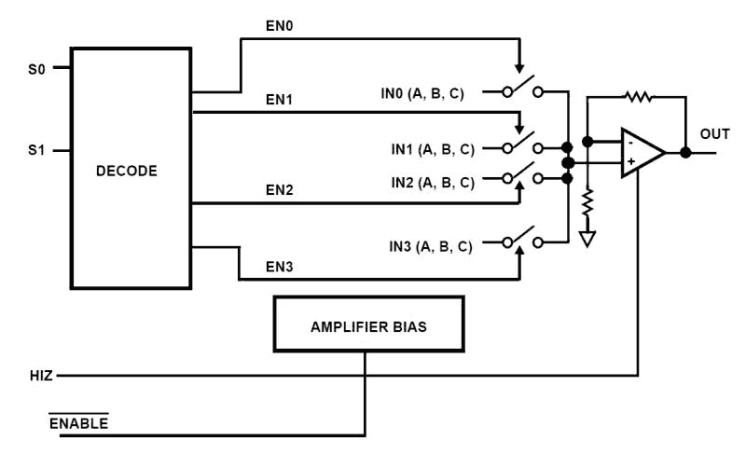
The ISL59446 is a triple channel 4:1 multiplexer featuring integrated amplifiers with a fixed gain of 2, high slew rate and excellent bandwidth for video switching. The device features a three-state output (HIZ), which allows the outputs of multiple devices to be tied together. A power-down mode (ENABLE) is included to turn off unneeded circuitry in power sensitive applications. When the ENABLE pin is pulled high, the part enters a power-down mode and consumes just 14mW.

应用

  • HDTV/DTV analog inputs
  • Video projectors
  • Computer monitors
  • Set-top boxes
  • Security video
  • Broadcast video equipment

当前筛选条件