| CAD 模型: | View CAD Model |
| Pkg. Type: | DFN |
| Pkg. Code: | LNG |
| Lead Count (#): | 10 |
| Pkg. Dimensions (mm): | 3.00 x 3.00 x 0.90 |
| Pitch (mm): | 0.5 |
| Moisture Sensitivity Level (MSL) | 2 |
| Pb (Lead) Free | Yes |
| RoHS (ISL61863IIRZ) | 下载 |
| ECCN (US) | |
| HTS (US) |
| Lead Count (#) | 10 |
| Carrier Type | Tube |
| Moisture Sensitivity Level (MSL) | 2 |
| Pitch (mm) | 0.5 |
| Pkg. Dimensions (mm) | 3.0 x 3.0 x 0.90 |
| Pb (Lead) Free | Yes |
| Pb Free Category | Pb-Free 100% Matte Tin Plate w/Anneal-e3 |
| Temp. Range (°C) | -40 to +85°C |
| Bias Voltage Range (V) | 2.5 - 5.5 |
| Controlled Voltages (V) | 2.5 - 2.5 |
| Internal / External FET | Int |
| Length (mm) | 3 |
| MOQ | 2000 |
| Outputs (#) | 1 |
| Parametric Category | Hot Swap/Hot Plug Controllers |
| Pkg. Type | DFN |
| Qualification Level | Standard |
| RDS (ON) (Ohms) | 0.045 |
| Regulation or Latch-Off for Overcurrent | Current Regulation (1.5A, 3A, 3.6A) |
| Reporting | FAULT-bar for OC, Unique in class PGOOD Output |
| Thickness (mm) | 0.9 |
| UV/OV Feature | UV Lockout |
| VBIAS (Max) (V) | 5.5 |
| VBIAS (Min) (V) | 2.5 |
| Width (mm) | 3 |
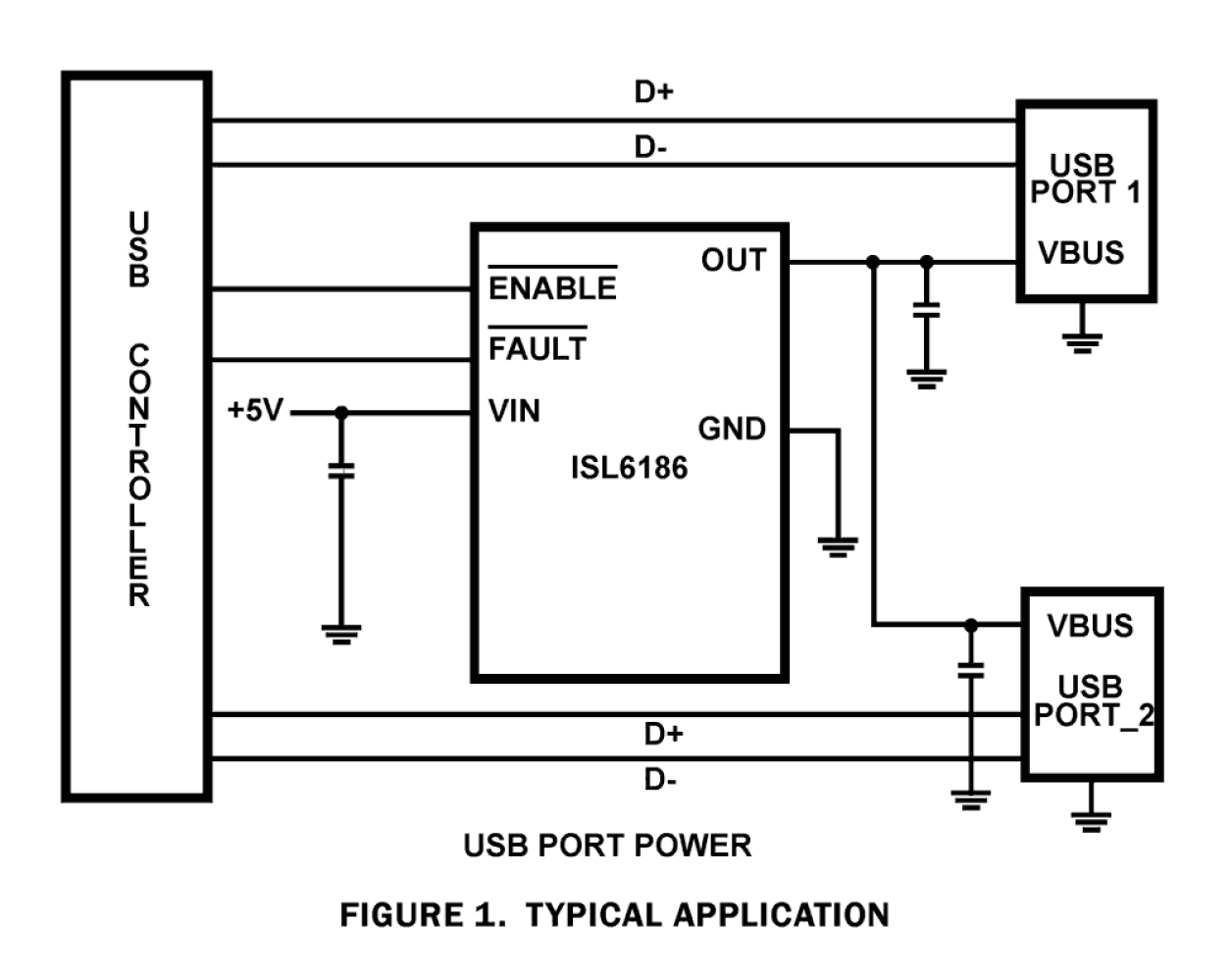
The ISL6186 USB power controller family provides overcurrent (OC) fault protection for one or more USB ports. This product family consists of eight individual functional product variants and three package options and is operation rated for a nominal +2. 5V to +5V range and specified over the full commercial and industrial temperature ranges. Each ISL6186 type incorporates a 45mΩ P-channel MOSFET power switch for power control and features internal current monitoring, accurate current limiting, and current limited delay to turn-off for system supply protection along with control and communication I/O. The ISL6186 family offers product variants with specified continuous output current levels of 1. 5A, 3A or 3. 6A, enable active high or low inputs, and latch off or automatic retry after overcurrent turn-off, making these devices well suited for many low-power applications. This family of ICs is offered in an industry standard SOIC package as well as in the 70% smaller 3x3 DFN package, which provides the same performance and an additional Power-Good output feature in the smallest possible (10 Ld DFN) package.