跳转到主要内容
瑞萨电子 (Renesas Electronics Corporation)

特性

  • 20 touch sensor channels
  • 2ms update rate per active sensor
  • Built-in Slider/Scroll Support
  • Configurable hysteresis and debounce
  • 1.65-5.5v supply voltage
  • <125uW (full power), <50uW (low power)
  • I2C, SPI, SMBus serial I/F options with VDDIO
  • DCM Outputs
  • TQFN and SSOP packages available

描述

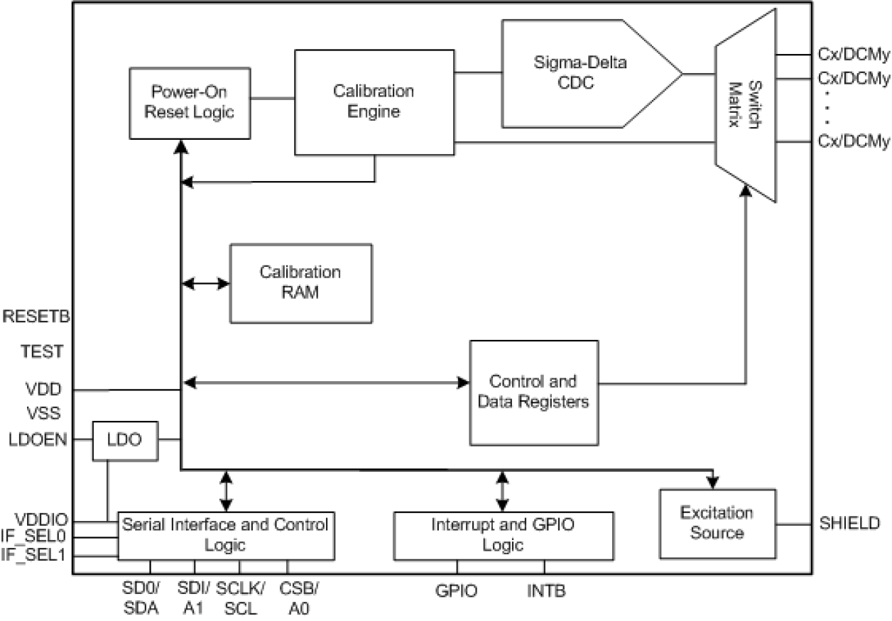
The LDS6100 PureTouch® capacitive touch sensor IC is a highly accurate solution for capacitive touch sensor applications, supporting a wide variety of possible touch input types including buttons, scroll wheels, and sliders. The device contains 20 capacitive sensor input pins, 10 of which may be optionally configurable as Direct Communication Mode (DCM) outputs to emulate mechanical button operation.

当前筛选条件