跳转到主要内容
瑞萨电子 (Renesas Electronics Corporation)

特性

  • 16 touch sensor channels
  • 2ms update rate per active sensor
  • Built-in Slider/Scroll Support
  • Configurable hysteresis and debounce
  • 1.65-5.5v supply voltage
  • <125uW (full power), <50uW (low power)
  • I2C, SPI, SMBus serial I/F options with VDDIO
  • DCM Outputs
  • TQFN and SSOP packages available

描述

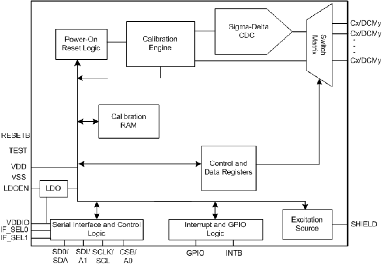
The LDS6108 PureTouch® capacitive touch sensor IC is a highly accurate solution for capacitive touch sensor applications, supporting a wide variety of possible touch input types including buttons, scroll wheels, and sliders. The device contains 16 capacitive sensor input pins, 8 of which may be optionally configurable as Direct Communication Mode (DCM) outputs to emulate mechanical button operation.

当前筛选条件