跳转到主要内容

特性

  • 25V 输出
  • 经过优化,可在电压高达 12V 的应用中实现最低 BOM 成本
  • 针对直接充电应用进行了优化,电压可低至 3V
  • 宽 VIN 引脚工作电压高达 25V
  • 有源电压定位(AVP)控制选项,可用于:
    • 降低旅行适配器的空载功耗,可低至 20mW
    • 超快的动态负载响应
    • 无需额外引脚或外部元件
  • 无需并联肖特基二极管
    • 更高的效率,更低的 BOM 成本
  • 与瑞萨电子初级侧控制器配合使用,包括:iW1781iW1782iW1780HiW1602iW1702iW1797iW1799
  • 小尺寸 SOT23 6 引脚封装

描述

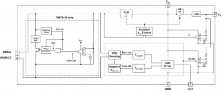
iW676 数字同步整流器可与瑞萨电子的多个初级侧控制器配合使用,为智能手机和媒体平板电脑高功率密度、低 BOM 成本的适配器(包括 RapidCharge™ 和直接充电应用)提供高效解决方案。

iW676 采用专有的数字自适应关断控制技术,用 MOSFET 取代次级侧并联肖特基二极管,以实现高功率密度和低成本。 iW676 比其替代的二极管更高效,也比传统的同步整流器更高效。

iW676 经过优化,可在高达 12V 的应用中实现最低的 BOM 成本,并可直接充电至 3V。 该器件还可结合瑞萨电子独特的有源电压定位(AVP)控制,实现整个旅行适配器的超快速动态负载响应(DLR)和低至 20mW 的空载功耗,无需添加引脚或外部组件。

iW676 提供 DiaSIM™ 仿真模型。 更多信息和下载方式,请访问 DiaSIM 页面。

产品参数

属性
FunctionSynchronous Rectifier Controller, Support system output voltage from 3V to 25V, Built-in fast system output voltage transient detection
Supported Protocols-

封装选项

Pkg. TypeLead Count (#)Pitch (mm)
SOT23-6L60.95

应用方框图

9-axis industrial motor control block diagram features an MPU with dual Arm Cortex-R52 and quad Arm Cortex-A55 cores and supports major industrial Ethernet protocols.
配备以太网的 9 轴工业电机控制装置
高精度、高效率的 9 轴电机控制装置,专为机器人和工业应用而设计。
Interactive block diagram of the AC/DC Adapter delivers 240W output and compliant with the USB PD EPR.
240W USB PD AC/DC 适配器
高效 240W AC/DC 适配器,配备 USB PD 3.2 EPR 输出接口。
Wi-Fi Garage Door Control Block Diagram
Wi-Fi 车库门控制器
Wi-Fi 车库门控制器在 SoftAP 模式下提供智能手机控制和简单的原型设计选项。
100W Multi-Output USB Power Delivery Adapter Block Diagram
100W 多路输出 USB PD 电源适配器
高性能 USB PD 电源适配器,可为多个电子设备高效充电。
High-Efficiency Online Uninterruptible Power Supply (UPS) with Real-Time Monitoring Block Diagram
具有实时监控功能的高效在线不间断电源(UPS)
在线 UPS 通过实时监控、高级电源管理和效率确保不间断电源。
Industrial motor control system block diagram features an MPU and MCU for mutual monitoring, power supply ICs, and delta-sigma modulators.
具备工业网络和功能性安全支持的电机控制系统
该电机控制系统集成了 MPU 和 MCU,可实现高效的工业电机控制和联网。
Motor control with resolver block diagram features resolver position control for both stepper motor systems and alternative BLDC motor systems.
带旋转变压器的电机控制
旋转变压器提高了步进和 BLDC 电机系统的电机控制精度和可靠性,并降低了成本。
AC Drive & General Purpose Inverter System Block Diagram
交流变频器和通用逆变器系统
该系统为交流驱动器和通用逆变器提供基本配置和基本组件。

其他应用

当前筛选条件