特性
- 双 OpenLDI 输入 / 输出
- 输入每个通道支持高达 150MHz视频信号频率
- 输出每个通道支持高达 104MHz视频信号频率
- ISO 26262 功能安全*
*功能安全评估预计将于 2025 年第三季度完成- 在整个数据路径中实施 CRC、奇偶校验、BIST 和冗余安全机制
- 视频诊断功能
- 视频定时、信号完整性和内容的输入/输出监控
- 闪烁、抖动、遮挡和眩光检测
- 扩展频功能可实现更低的系统EMI 分布
- 图像增强引擎可实现卓越的图像质量
- 双主机接口:I2C 和 SPI(可配置)
- 基于 SPI-Flash 的图像级OSD以及基于字符的基础级FontOSD
- SPI 启动功能(从 SPI Flash 启动,无需 MCU)
- 支持故障安全无线 (OTA) 更新
- 节省空间的 72SCQFN 封装 10mm x 10mm
- 符合 AEC-Q100 2 级标准
描述
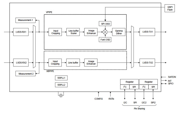
RAA278830 是一款高度集成的双 LVDS (OpenLDI) LCD 视频处理器,集成了设计 ISO 26262 ASIL B 汽车显示系统所需的基本功能。 RAA278830针对抬头显示器 (HUD)、数字仪表板和内外后视监控系统(CMS 和 eMirrors)进行了优化,除了提供信号完整性检测外,还提供视频内容诊断。 内部诊断和测量引擎可以检测的视频冻结、不正确的颜色错误、视频图像损坏,以及可能阻碍驾驶员视野的眩光、图像闪烁抖动及遮挡(在 HUD 系统的情况下)。
*功能安全评估预计将于 2025 年第三季度完成。
产品参数
| 属性 | 值 |
|---|---|
| CVBS Input | No |
| S-Video Input | No |
| YPbPr Input | No |
| SCART Input | No |
| Digital RGB/Y CbCr Input | No |
| Comb Filter | N/A |
| Output Resolution (Max) | 1080p (1920x1080) |
| De-Interlacer | N/A |
| Color Enhancement | Yes |
| PIP | No |
| OSD Type | Font / SPI bitmap |
| OSD Font RAM | 512 |
| External OSD | No |
| CCFL/LED Controller | No |
| Dual View Output | No |
| LVDS Input | Yes (2CH) |
| LVDS Output | Yes (2CH) |
| Memory Support | No |
| MIPI-CSI2 input | No |
| OSD Colors | 16 Colors / 16-bit Pallette |
| TCON Output | No |
| Touch-screen Controller | No |
| TTL Output | No |
| ISO 26262 (Functional Safety) | ASIL B |
| Qualification Level | AEC-Q100 Grade 2 |
封装选项
| Pkg. Type | Pkg. Dimensions (mm) | Lead Count (#) | Pitch (mm) |
|---|---|---|---|
| SCQFN | 10.0 x 10.0 x 0.85 | 72 | 0.5 |
应用
- 抬头显示系统(HUD)
- 数字仪表盘
- 后视监控系统 (CMS),包括电子后视镜 (eMirrors)
当前筛选条件
加载中
筛选
软件与工具
样例程序
模拟模型
The RAA278830 is an ASIL B LVDS OpenLDI video diagnostics bridge IC for critical automotive display systems. It integrates the features necessary to design an ISO 26262 ASIL B automotive display system. It’s optimized for heads-up displays (HUD), digital instrument clusters, camera monitoring systems (CMS), and electronic mirrors (eMirrors).
新闻和博客
新闻
2025年3月27日
|