| CAD 模型: | View CAD Model |
| Pkg. Type: | TDFN-8 |
| Pkg. Code: | |
| Lead Count (#): | 8 |
| Pkg. Dimensions (mm): | 2.0 x 2.0 |
| Pitch (mm): | 0.5 |
| Moisture Sensitivity Level (MSL) | 1 |
| Pb (Lead) Free | Yes |
| ECCN (US) | |
| HTS (US) |
| Lead Count (#) | 8 |
| Carrier Type | Tape & Reel |
| Moisture Sensitivity Level (MSL) | 1 |
| Pb (Lead) Free | Yes |
| Temp. Range (°C) | -40 to +85°C |
| 480Mbps USB Data Switch | Yes |
| CDP | BC 1.1/BC 1.2 |
| Custom Standard 2.7V (1A) | Yes |
| Custom Standard 2.7V (2.4A) | No |
| Custom Standard 2.7V (2A) | Yes |
| DCP | BC 1.1/BC 1.2 |
| Galaxy Tablet | Yes |
| MOQ | 3000 |
| Parametric Category | USB-C & Power Delivery |
| Pitch (mm) | 0.5 |
| Pkg. Dimensions (mm) | 2.0 x 2.0 |
| Pkg. Type | TDFN-8 |
| QC 2.0 (Qualcomm® Quick Charge™ 2.0 Technology) | No |
| Qty. per Reel (#) | 3000 |
| SDP | BC 1.1/BC 1.2 |
| Smart CDP | Yes |
| YD/T 1591-2009 | Yes |
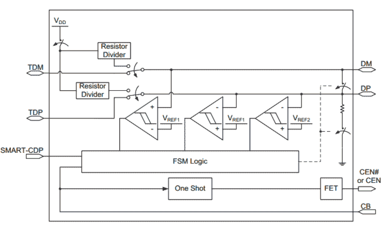
The SLG55590A is a USB device that combines high speed USB switches with a USB host charger (dedicated charger) identification circuit. The device supports both the latest USB Battery Charging Specification Revision 1.2 including data contact detection and a set resistor bias for Apple* compliant devices as well as legacy USB D+/D- short detection using data line pull-up. The SLG55590A can also support CDP mode (FAST charging and data communication available mode if smartphone can support CDP mode.) The SLG55590A can also support low speed / full speed mouse/keyboard wake-up from S3 mode.