跳转到主要内容
瑞萨电子 (Renesas Electronics Corporation)

特性

  • Four Video Decoders
  • Accepts all NTSC(M/N/4.43)/PAL(B/D/G/H/I/K/L/M/N/60) standards with auto detection
  • Integrated four video analog anti-aliasing filters and 10 bit CMOS ADCs
  • High performance adaptive 4H comb filters for all NTSC/PAL standards
  • IF compensation filter for improvement of color demodulation
  • Color Transient Improvement (CTI)
  • Automatic white peak control
  • Programmable hue, saturation, contrast, brightness and sharpness
  • High performance horizontal and vertical scaler for each path including playback input
  • Fast video locking system for non-realtime application Dual Video Encoders
  • Dual path digital outputs with ITU-R BT.656 standard
  • Dual path analog outputs with all analog NTSC/PAL standards
  • Programmable bandwidth of luminance and chrominance signal for each path
  • Three 10bit video CMOS DACs Dual Video Controllers
  • Support full triplex function with 4ch live, 4ch playback display and 4ch record output
  • Analog/Digital channel ID CODEC for record and playback application
  • Support adaptive median filter for Record
  • Supports pseudo 8 channel and/or dual page mode
  • Horizontal/Vertical mirroring for each channel
  • Last image captured when video-loss detected
  • Auto sequence switch with 128 queues and/or manual switch by interrupt for record path
  • Channel skip in auto sequence switch for record path when video-loss detected
  • Image enhancement for zoomed or still image in display path
  • High performance 2X zoom to horizontal and vertical direction for display path

描述

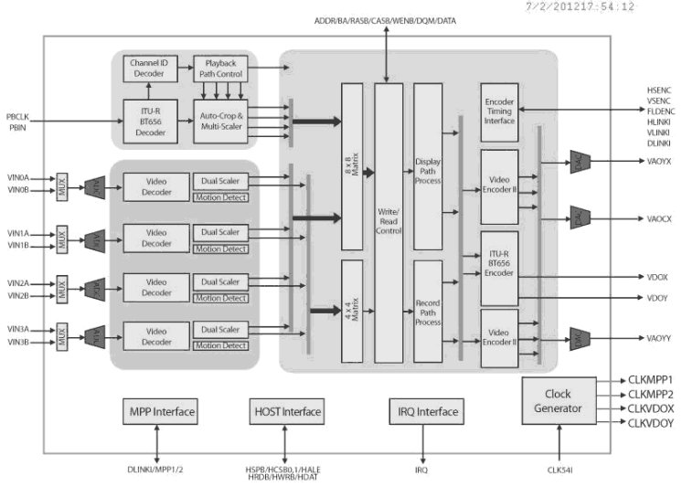
The TW2836 has four high quality NTSC/PAL video decoders, dual color display controllers and dual video encoders. The TW2836 contains four built-in analog anti-aliasing filters, four 10bit Analog-to-Digital converters, and proprietary digital gain/clamp controller, high quality Y/C separator to reduce cross-noise and high performance free scaler. Four built-in motion, blind and night detectors can increase the feature of security system. The TW2836 has flexible video display/record/playback controller including basic display and MUX functions. The TW2836 also has excellent graphic overlay function that displays bitmap for OSD, single box, 2D array box, and mouse pointer. The built-in channel ID CODEC allows auto decoding and displaying during playback and the additional scaler on the playback supports multi-cropping function of the same field or frame image. The TW2836 contains two video encoders with three 10bit Digital-to-Analog converters to provide 2 composite or S-video. The TW2836 can be extended up to 8/16 channel video controller using chip-to-chip cascade connection.

应用

  • Security System
  • Analog QUAD/MUX System
  • 4/8/16 Channel DVR System
  • Car Rear Vision System
  • Hair Shop System
  • Dental Care System

当前筛选条件