| CAD 模型: | View CAD Model |
| Pkg. Type: | PQFP-HS |
| Pkg. Code: | QLE |
| Lead Count (#): | 208 |
| Pkg. Dimensions (mm): | 27.99 x 27.99 x 3.32 |
| Pitch (mm): | 0.5 |
| Moisture Sensitivity Level (MSL) | 3 |
| Pb (Lead) Free | Yes |
| ECCN (US) | |
| HTS (US) |
| Pkg. Type | PQFP-HS |
| Carrier Type | Tray |
| MOQ | 48 |
| Function | Display MUX |
| Lead Count (#) | 208 |
| Length (mm) | 28 |
| Moisture Sensitivity Level (MSL) | 3 |
| Pb (Lead) Free | Yes |
| Pb Free Category | Pb-Free 100% Matte Tin Plate w/Anneal-e3 |
| Pitch (mm) | 0.5 |
| Pkg. Dimensions (mm) | 28.0 x 28.0 x 3.32 |
| Qualification Level | Standard |
| Temp. Range (°C) | -40 to +85°C |
| Thickness (mm) | 3.32 |
| Width (mm) | 28 |
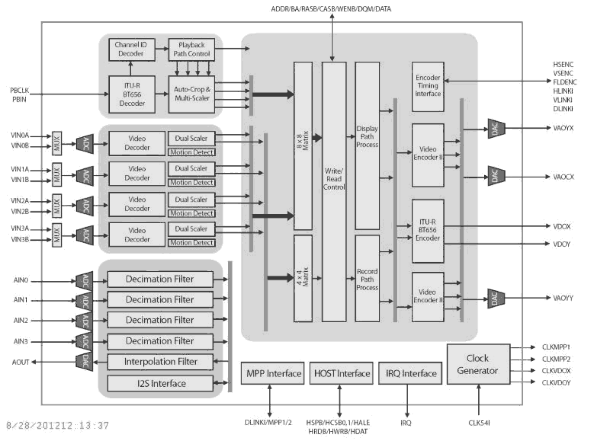
The TW2837 is an improved version of TW2835 with four high quality NTSC/PAL video decoders, dual color display controllers and dual video encoders. The device includes four built-in analog anti-aliasing filters, four 10-bit ADCs, a proprietary digital gain/clamp controller, a high quality Y/C separator to reduce cross noise, and a high performance free scaler. The TW2837 has four built-in motion, blind and night detectors and a flexible video display/record/playback controller supporting basic display and MUX functions. The device also has an enhanced 256-color OSD that can display bitmap, single box, 2D array box, and mouse pointer. The built-in channel ID CODEC allows auto decoding and displaying during playback, and the additional scaler on the playback supports multi-cropping function of the same field or frame image. The TW2837 has two NTSC/PAL video encoders with three 10-bit DACs that can support composite and S-video outputs. The TW2837 also has an improved audio CODEC which has four audio ADCs and one DAC. A built-in audio controller can generate digital outputs for recording/mixing and accept digital input for playback. The TW2837 can be configured up to 8/16 channel video controller using chip-to-chip cascade connection. TW2837 is pin-to-pin compatible to TW2835.