| CAD 模型: | View CAD Model |
| Pkg. Type: | LQFP |
| Pkg. Code: | QAC |
| Lead Count (#): | 156 |
| Pkg. Dimensions (mm): | 19.99 x 14.00 x 1.40 |
| Pitch (mm): | 0.41 |
| Moisture Sensitivity Level (MSL) | 3 |
| Pb (Lead) Free | Yes |
| ECCN (US) | EAR99 |
| HTS (US) | 8542.39.0090 |
| RoHS (TW8845AT-LB1-GET) | 下载 |
| Lead Count (#) | 156 |
| Carrier Type | Reel |
| Moisture Sensitivity Level (MSL) | 3 |
| Pb (Lead) Free | Yes |
| Pb Free Category | Pb-Free 100% Matte Tin Plate w/Anneal-e3 |
| Temp. Range (°C) | -40 to +105°C |
| Country of Assembly | TAIWAN |
| Country of Wafer Fabrication | TAIWAN |
| ADC Input Frequency (MHz) | 27 |
| Analog RGB Input | No |
| CCFL/LED Controller | No |
| CVBS Input | Yes (differential) |
| Color Enhancement | Yes |
| Comb Filter | 2D |
| De-Interlacer | 2D |
| Digital RGB/Y CbCr Input | 2 x 24-bit (up to 1080p) |
| Dual View Output | No |
| External OSD | No |
| LVDS Input | Yes (2CH) |
| LVDS Output | Yes (2CH) |
| Length (mm) | 20 |
| MCU/MPU | No |
| MOQ | 500 |
| Memory Support | No |
| OSD Colors | 16 Colors / 16-bit Pallette |
| OSD Font RAM | 379 |
| OSD Type | Font / SPI bitmap |
| Output Resolution (Max) | 1080p (1920x1080) |
| PIP | No |
| Pitch (mm) | 0.4 |
| Pkg. Dimensions (mm) | 20.0 x 14.0 x 1.40 |
| Pkg. Type | LQFP |
| Price (USD) | $13.02378 |
| Qualification Level | Automotive |
| S-Video Input | No |
| SCART Input | No |
| TCON Output | Digital |
| TTL Output | Yes |
| Thickness (mm) | 1.4 |
| Touch-screen Controller | No |
| Width (mm) | 14 |
| YPbPr Input | No |
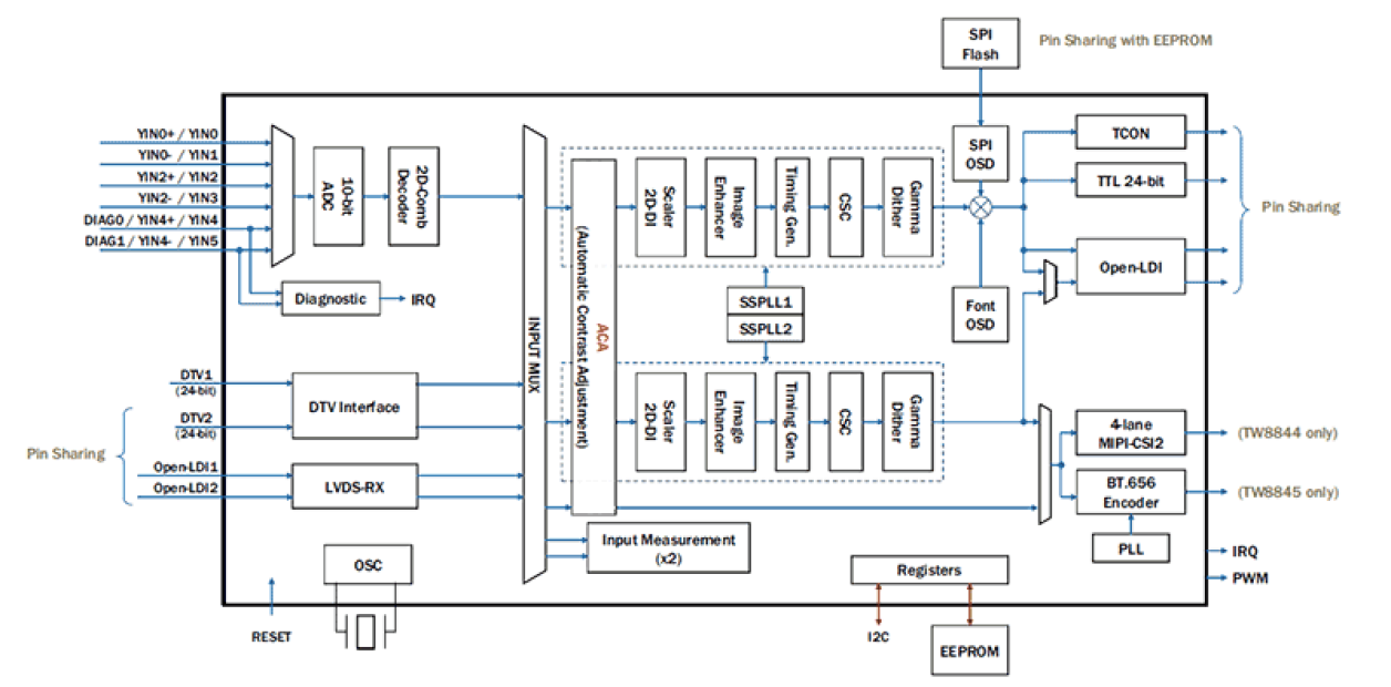
The TW8844 and TW8845 are highly integrated LCD video processors that incorporate many of the features required to create a multipurpose LCD display system. This includes a high quality 2D comb NTSC/PAL/SECAM video decoder that supports single-ended or differential composite video inputs, two independent TTL digital input interfaces (up to 24-bit each), two LVDS Open LDI input interfaces, two separate high-quality scaler and deinterlacer engines, as well as a versatile OSD and EEPROM interface. The outputs include dual channel LVDS Open LDI, or TTL panel interfaces, as well as a separate MIPI-CSI2 (TW8844) or pseudo BT. 656 (TW8845) output.
The TW8844 and TW8845 can support input resolutions up to 1080p and can drive LCD panels at resolutions up 1920 x 1080. The TW8844 and TW8845's video processing capability includes arbitrary H/V scaling, panoramic scaling, image mirroring, image adjustment and enhancement, Automatic Contrast Adjustment (ACA), etc. In addition, the TW8844 and TW8845 have new image diagnostic capabilities to determine if the input video is corrupted. The feature set and versatility of this device makes it an ideal solution for automotive LCD display applications.