| CAD 模型: | View CAD Model |
| Pkg. Type: | SOICN |
| Pkg. Code: | MUE |
| Lead Count (#): | 8 |
| Pkg. Dimensions (mm): | 4.90 x 3.91 x 0.00 |
| Pitch (mm): | 1.27 |
| Moisture Sensitivity Level (MSL) | 1 |
| Pb (Lead) Free | Yes |
| ECCN (US) | |
| HTS (US) |
| Lead Count (#) | 8 |
| Carrier Type | Tube |
| Moisture Sensitivity Level (MSL) | 1 |
| Pitch (mm) | 1.3 |
| Pkg. Dimensions (mm) | 4.9 x 3.9 x 0.00 |
| Pb (Lead) Free | Yes |
| Pb Free Category | Pb-Free 100% Matte Tin Plate w/Anneal-e3 |
| Temp. Range (°C) | 0 to +70°C |
| Advanced Features | Replaces X25268 |
| Interface | SPI |
| Length (mm) | 4.9 |
| MOQ | 800 |
| Manual Reset | No |
| Parametric Category | Voltage Supervisor & Reset ICs |
| Pkg. Type | SOICN |
| Qualification Level | Standard |
| Reset Output Type | Active Low |
| Supply Voltage Vs Range | 4.5 to 5.5, 4.5 to 5.5, 2.7 to 5.5, 2.7 to 5.5 |
| Width (mm) | 3.9 |
Support is limited to customers who have already adopted these products.
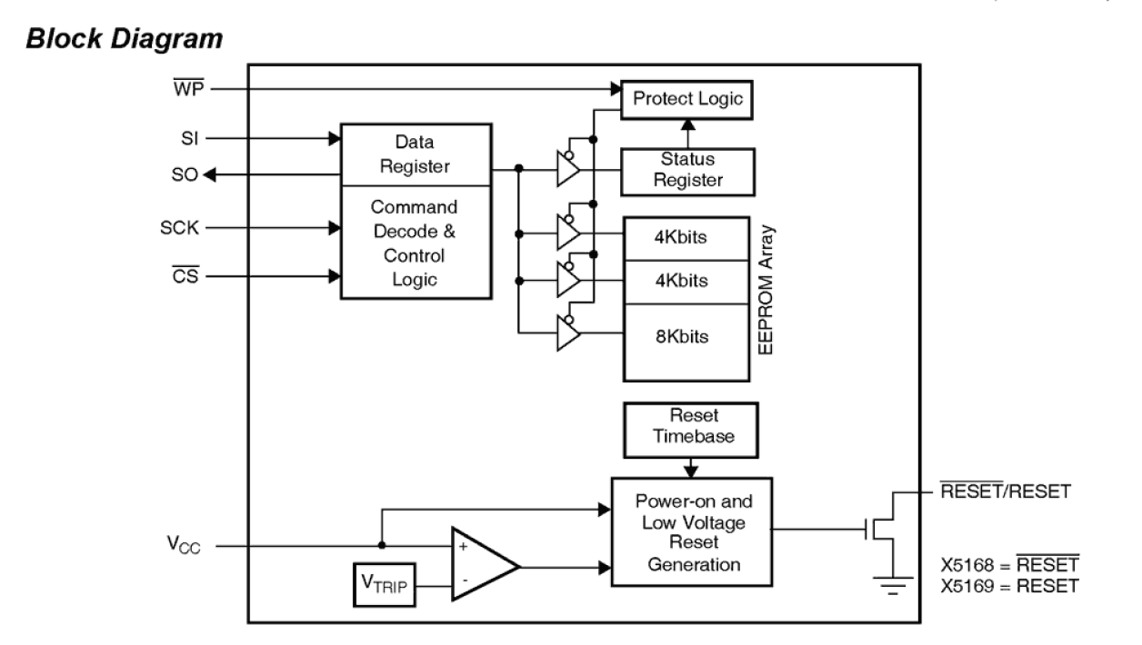
These devices combine three popular functions, Power-on Reset Control, Supply Voltage Supervision, and Block Lock Protect Serial EEPROM Memory in one package. This combination lowers system cost, reduces board space requirements, and increases reliability. Applying power to the device activates the power-on reset circuit which holds RESET/RESET active for a period of time. This allows the power supply and oscillator to stabilize before the processor can execute code. The Device's low VCC detection circuitry protects the user's system from low voltage conditions by holding RESET/RESET active when VCC falls below a minimum VCC trip point. RESET/RESET remains asserted until VCC returns to proper operating level and stabilizes. Five industry standard VTRIP thresholds are available, however, Intersil's unique circuits allow the threshold to be reprogrammed to meet custom requirements or to fine-tune the threshold in applications requiring higher precision.