| CAD 模型: | View CAD Model |
| Pkg. Type: | PGA |
| Pkg. Code: | GU84 |
| Lead Count (#): | 84 |
| Pkg. Dimensions (mm): | 27.94 x 27.94 x 3.68 |
| Pitch (mm): | 2.54 |
| Pb (Lead) Free | No |
| Moisture Sensitivity Level (MSL) | 1 |
| ECCN (US) | 3A001.a.2.c |
| HTS (US) | 8542.32.0041 |
| Lead Count (#) | 84 |
| Pb (Lead) Free | No |
| Carrier Type | Tray |
| Moisture Sensitivity Level (MSL) | 1 |
| Access Time (ns) | 25 |
| Architecture | Dual-Port |
| Bus Width (bits) | 16 |
| Core Voltage (V) | 5 |
| Density (Kb) | 64 |
| Function | Busy, Interrupt, Master, Semaphore, Slave |
| I/O Type | 5.0 V TTL |
| Interface | Async |
| Length (mm) | 27.94 |
| MOQ | 21 |
| Organization | 4K x 16 |
| Package Area (mm²) | 780.6 |
| Pb Free Category | e0 |
| Pitch (mm) | 2.54 |
| Pkg. Dimensions (mm) | 27.94 x 27.94 x 3.68 |
| Pkg. Type | PGA |
| Qty. per Carrier (#) | 21 |
| Qty. per Reel (#) | 0 |
| Requires Terms and Conditions | Does not require acceptance of Terms and Conditions |
| Tape & Reel | No |
| Temp. Range (°C) | -55 to 125°C |
| Thickness (mm) | 3.68 |
| Width (mm) | 27.94 |
| 已发布 | No |
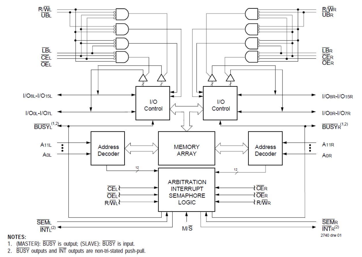
The 7024 is a high-speed 4Kx 16 Dual-Port Static RAM designed to be used as a stand-alone 64K-bit Dual-Port RAM or as a combination MASTER/SLAVE Dual-Port RAM for 32-bit or more word systems. An automatic power down feature controlled by Chip Enable (CE) permits the on-chip circuitry of each port to enter a very low standby power mode. Military grade product in compliance with MIL-PRF-38535 QML is available.